机械加工过程中,工件会受到切削力、离心力、重力、惯性力等的作用,在这些外力作用下,为了使工件仍能在夹具中保持已由定位元件所确定的加工位置,而不致发生振动或位移,保证加工质量和生产安全,一般夹具结构中都必须设置夹紧装置将工件可靠夹牢。

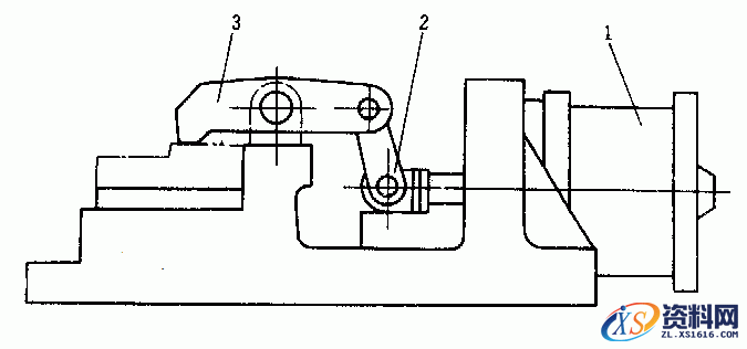
图1为夹紧装置组成示意图,它主要由以下三部分组成:
(1) 力源装置 产生夹紧作用力的装置。所产生的力称为原始力,如气动、液动、电动等,图中的力源装置是气缸1。对于手动夹紧来说,力源来自人力。
(2) 中间传力机构 介于力源和夹紧元件之间传递力的机构,如图中的连杆2。在传递力的过程中,它能够改变作用力的方向和大小,起增力作用;还能使夹紧实现自锁,保证力源提供的原始力消失后,仍能可靠地夹紧工件,这对手动夹紧尤为重要。
(3) 夹紧元件 夹紧装置的最终执行件,与工件直接接触完成夹紧作用,如图中的压板3。

图1 夹紧装置组成示意图
1—气缸 2—连杆 3—压板
免责声明:
1;所有标注为智造资料网zl.fbzzw.cn的内容均为本站所有,版权均属本站所有,若您需要引用、转载,必须注明来源及原文链接即可,如涉及大面积转载,请来信告知,获取《授权协议》。
2;本网站图片,文字之类版权申明,因为网站可以由注册用户自行上传图片或文字,本网站无法鉴别所上传图片或文字的知识版权,如果侵犯,请及时通知我们,本网站将在第一时间及时删除,相关侵权责任均由相应上传用户自行承担。
[complaint:内容投诉]
智造资料网打造智能制造3D图纸下载,在线视频,软件下载,在线问答综合平台 » 夹具中夹紧装置的组成示意解析图
1;所有标注为智造资料网zl.fbzzw.cn的内容均为本站所有,版权均属本站所有,若您需要引用、转载,必须注明来源及原文链接即可,如涉及大面积转载,请来信告知,获取《授权协议》。
2;本网站图片,文字之类版权申明,因为网站可以由注册用户自行上传图片或文字,本网站无法鉴别所上传图片或文字的知识版权,如果侵犯,请及时通知我们,本网站将在第一时间及时删除,相关侵权责任均由相应上传用户自行承担。
[complaint:内容投诉]
智造资料网打造智能制造3D图纸下载,在线视频,软件下载,在线问答综合平台 » 夹具中夹紧装置的组成示意解析图

