一、什么是气动分度盘?
气动分度盘是一个360度的转盘,可以分多个工位(六个)进行转动。主要是以气压为动力,可以在各种加工生产中应用。一般由以下四部分组成:固定部分、转动部分、分度对定机构、抬起与锁紧机构。
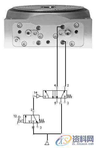
图1 气动分度盘
二、分度盘的组成
1.固定部分:
分度装置的基体,为了稳定精度。
2.转动部分:
分度装置的运动部件通过它达到转位的目的。
3.分度对定机构:
分度装置的关键部分,是由分度盘和对定销构成。
(1)分度盘与转动部分联接。
(2)对定销与固定部分联接。
4.抬起和锁紧机构:
转位分度之前减少摩擦需抬起转盘,分度对定后将转盘锁紧在固定部分上以增加系统的刚度和稳定性。
图2 气动分度盘组成图
三、DHTG气动旋转分度盘构造
1.通孔:用于能源贯穿进给。
2.螺纹:用于位置感测。
3.单向节流阀:用于调节速度。
4.气源口:用于往复工作。
5.气源口:用于顺时针或逆时针工作。
6.调节螺丝:用于缓冲调节。
图3 DHTG气动分度盘构造图
图4 DHTG气动分度盘传感器分布图
四、液压缓冲器调节
1.将紧固用内六角螺钉(K)松开一圈;
2.旋转调节螺丝(6)直到达到所需缓冲程度。
图5 液压缓冲器调节过程图
3.将紧固用内六角螺钉(K)重新拧紧。
4.顺时针旋转,B口常有气。
图6 顺时针旋转原理图
图7 顺时针旋转流程图
5.解锁后旋转:A口通气;B口排气。
图8 解锁后旋转效果图
图9 解锁后旋转原理图
图10 解锁后旋转步骤
五、现场应用—导管/座圈上料系统
图11 导管/座圈上料系统
1.分料工位:
图12 分料工位
2.直径检测工位:
图13 直径检测工位
3.座圈音频检测工位:
图14 座圈音频检测工位1
图15 座圈音频检测工位2
4.上料工位:
图16 上料工位
结 语
气动分度盘结构简单,寿命较长,日常维护较少,未来将大量应用于自动化智能生产线。
东莞潇洒职业培训学校开设课程有:数控编程培训、塑胶模具设计培训,冲压模具设计培训,精雕、ZBrush圆雕培训、Solidworks产品设计培训、pro/E产品设计培训、AutoformR7工艺分析培训,潇洒职业培训学校线下、线上网络学习方式,随到随学,上班学习两不误,欢迎免费试学!联系电话:13018639977
联系电话:13018639977(微信同号)QQ:2033825601
学习地址:东莞市横沥镇新城工业区兴业路121号-潇洒职业培训学校
1;所有标注为智造资料网zl.fbzzw.cn的内容均为本站所有,版权均属本站所有,若您需要引用、转载,必须注明来源及原文链接即可,如涉及大面积转载,请来信告知,获取《授权协议》。
2;本网站图片,文字之类版权申明,因为网站可以由注册用户自行上传图片或文字,本网站无法鉴别所上传图片或文字的知识版权,如果侵犯,请及时通知我们,本网站将在第一时间及时删除,相关侵权责任均由相应上传用户自行承担。
[complaint:内容投诉]
智造资料网打造智能制造3D图纸下载,在线视频,软件下载,在线问答综合平台 » 分度盘技术: 气动分度盘一、什么是气动分度盘?二、分度盘的组成三、DHTG气动旋转分度盘构造四、液压缓冲器调节五、现场应用—导管/座圈上料系统结 语

