一 注射模具的结构组成
注射模具的结构由塑件的复杂程度及注射机的结构形式等因素决定,其基本结构由动模和定模两部分组成。其中定模部分安装在注射机的固定模板上,动模部分安装在注射机的移动模板上。在注射成型过程中,动模部分随注射机上的合模系统运动,同时动模部分与定模部分由导柱导向而闭合构成浇注系统和型腔,塑料熔体从注射机喷嘴经浇注系统进入型腔,冷却后开模时,动模部分和定模部分分离,取出塑件。
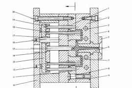
根据模具各部分所起的作用,注射模具为成型零部件、结构零部件、浇注系统、 温度调节系统、排气系统组成,如图4-1所示。
1.成型零部件
是指组成型腔的零件。如:凸模(型芯)、凹模以及嵌件和镶块等。凸模(型芯)形成塑件的内表面形状,凹模(型腔)形成塑件的外表面形状。合模后凸模和凹模便构成了模具的型腔。如图4-1所示的模具中,型腔是由动模板1、定模板2、凸模7等组成的。
2.结构零部件
指模架 、机构等。模架如:上、下模座,支承零部件等;机构,如:合模导向机构,推出机构,侧抽芯机构等。
支承零部件是用来防止成型零部件及各部分机构在成型压力作用下发生变形超差现象的零部件称支承零部件。模具支承零件主要有:支承块(垫块)、支承板(动模垫板)、支撑块、支撑板、支撑柱(动模支柱)等。合模导向机构是保证动模和定模在合模时准确对合。常用的有:导柱导向机构和锥面导向机构。推出机构是指分型后将塑件从模具中推出的装置。常见有:推杆推出、推管推出、推板推出、凹模推出、顺序推出等机构。侧向分型与抽芯机构是当塑件侧壁有凹凸形状,开模前先把成型凹凸形状的模块或型芯从塑件上脱开或抽出的装置 。
3. 浇注系统
熔融塑料从注射机喷嘴进入模具型腔所流经的通道称为浇注系统,浇注系统由主流道、分流道、浇口及冷料穴等四部分组成。
4. 温度调节系统
为了满足注射工艺对模具的温度要求,必须对模具的温度进行控制,所以模具常常设有冷却或加热的温度调节系统。冷却系统一般是在模具上开设冷却水道(图4-1中3),而加热系统是在模具内部或四周安装加热元件。
5. 排气系统
在注射成型过程中,为了将型腔内的气体排除模外,常常需要开设排气系统。排气系统通常是在分型面上有目的地开设几条排气沟槽,另外许多模具的推杆或活动型芯与模板之间的配合间隙也可起排气作用。小型塑件的排气量不大,因此可直接利用分型面排气。

图4-1 注射模具的结构
1-动模板;2-定模板;3-冷却水道;4-定模座板;5-定位圈;6-浇口套;7-凸模;8-导柱;9-导套;10-动模座板;11-支承板;12-支承柱;13-推板;14-推杆固定板;15-拉料杆;
16-推板导柱;17-推板导套;18-推杆;19-复位杆;20-垫块;21-注射机顶杆
二 注射模具的分类
塑料注射成型模具主要用于热塑性塑件的成型。注射模具的分类方法很多,概括如下:
(1)按注射模具所用注射机类型可分为卧式注射机用的模具、立式注射机用的模具和角式注射机用的模具;
(2)按塑料的性质可分为热塑性塑料注射模具和热固性塑料注射模具;
(3)按浇注系统的结构形式可分为普通流道注射模具和热流道注射模具;
(4)按型腔数量可分为单型腔注射模具和多型腔注射模具;
(5)按注射成型技术可分为低发泡注射模具、精密注射模具、气体辅助注射成型注射模具、单色注射模具和多色注射模具等;
(6)按注射模具的典型结构特征可分为单分型面注射模具、双分型面注射模具、斜导柱(弯销、斜导槽、斜滑块、齿轮齿条)侧向分型与抽芯注射模具、带有活动镶件的注射模具、定模带有推出机构的注射模具和自动卸螺纹注射模具等。
该文章所属专题:塑料模具设计教程
1;所有标注为智造资料网zl.fbzzw.cn的内容均为本站所有,版权均属本站所有,若您需要引用、转载,必须注明来源及原文链接即可,如涉及大面积转载,请来信告知,获取《授权协议》。
2;本网站图片,文字之类版权申明,因为网站可以由注册用户自行上传图片或文字,本网站无法鉴别所上传图片或文字的知识版权,如果侵犯,请及时通知我们,本网站将在第一时间及时删除,相关侵权责任均由相应上传用户自行承担。
[complaint:内容投诉]
智造资料网打造智能制造3D图纸下载,在线视频,软件下载,在线问答综合平台 » 塑料模具设计教程_4-1注射模结构组成及分类(图文教程)

