挤出成型是目前比较普遍的塑料成型方法之一,适用于所有的热塑性塑料及部分热固性塑料,可以成型各种塑料管材,棒材,板材、电线电缆及异形截面型材等,还可以用于塑料的着色、造料和共混等。挤出型材的质量取决于挤出模具,挤出模具主要是由机头和定型装置两部分组成,其结构设计的合理性是保证塑件成型质量的决定性因素。
一 挤出成型原理及特点
1. 挤出成型原理
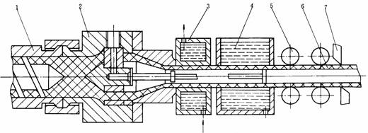
挤出成型主要用于成型热量性塑料,其成型原理如图2-4所示(以管材的挤出为例)。首先将粒状或粉状塑料加入料斗中,在挤出机旋转螺杆的作用下,加热的塑料沿螺杆的螺旋槽向前方输送。在此过程中,塑料不断地接受外加热和螺杆与物料之间、物料与物料之间及物料与料筒之间的剪切磨擦热,逐渐熔融呈粘流态,然后在挤压系统的作用下,塑料熔体通过具有一定形状的挤出模具(机头)口模以及一系列辅助装置(定型、冷却、牵引、切割等装置),从而获得截面形状一定的塑料型材。

图2-4 挤出成型原理
1-挤出机料筒;2-机头;3-定径装置;4-冷却装置;5-牵引装置;6-塑料管;7-切割装置
2. 挤出成型特点
挤出成型所用的设备为挤出机,结构比较简单,操作方便,应用非常广泛,所成型的塑件均为具有恒定截面形状的连续型材。挤出成型的特点如下:
1)生产过程连续,可以挤出任意长度的塑件,生产效率高。
2)模具结构也较简单,制造维修方便,投资少、收效快。
3)塑件内部组织均衡紧密,尺寸比较稳定准确。
4)适应性强,除氟塑料外,所有的热塑性塑料都可采用挤出成型,部分热固性塑料也可采用挤出成型。变更机头口模,产品的截面形状和尺寸可相应改变,这样就能生产出各种不同规格的塑件。
二 挤出成型工艺
热塑性塑料的挤出成型工艺过程可分为三个阶段。
第一阶段是塑料原料的塑化
塑料原料在挤出机的机筒温度和螺杆的旋转压实及混合作用下,由粉准或粒状变成粘流态物质。
第二阶段是成型
粘流态塑料熔体在挤出机螺杆螺旋力的推动作用下,通过具有一定形状的机头口模,得到截面与口模形状一致的连续型材。
第三阶段是定型
通过适当的处理方法,如定径处理、冷却处理等,使已挤出的塑料连续型材固化为塑件。
1. 原料的准备
挤出成型用的大部分塑料是粒状塑料,粉状塑料用得较少。因为粉状塑料含有较多的水分,会影响挤出成型的顺利进行,同时影响塑件的质量,例如塑件出现气泡、表面灰暗无光、皱纹、流浪等,其物理性能和力学性能也随之下降,而且粉状物料的压缩比大,不利于输送。当然,不论是粉状物料还是粒状物料,都会吸收一定的水分,所以在成型之前应进行干燥处理,将原料的水分控制在0.5%以下。原料的干燥一般是在烘箱或烘房中进行,此外,在准备阶段还要尽可能除去塑料中存在的杂质。
2. 挤出成型
将挤出机预热到规定温度后,启动电机带动螺杆旋转输送物料,同时向料筒中加入塑料。料筒中的塑料在外加热和剪切磨擦热作用下熔融塑化。由于螺杆旋转时对塑料不断推挤,迫使塑料经过滤板上的过滤网,再通过机头成型为一定口模形状的连续型材。初期的挤出塑件质量较差,外观也欠佳,要调整工艺条件及设备装置直到正常状态后才能投入正式生产。在挤出成型过程中,要特别注意温度和剪切磨擦热两个因素对塑件质量的影响。
3. 塑件的定型与冷却
热塑件塑件在离开机头口模以后,应该立即进行定型和冷却,否则,塑件在自重力作用下就会变形,出现凹陷或扭曲现象。在大多数情况下,定型和冷却是同时进行的,只有在挤出各种棒料和管材时,才有一个独立的定径过程,而挤出薄模、单丝等则无需定型,仅通过冷却即可。挤出板材与片材,有时还需要通过一对压辊压平,也有定型与冷却作用。管材的定型方法可用定径套,也有采用能通水冷却的特殊口模来定径的,但不管那种方法,都是使管坯内外形成压力差,使其紧贴在定径套上而冷却定型。
冷却一般采用空气冷却或水冷却,冷却速度对塑件性能有很大影响。硬质塑件(如聚苯乙烯、低密度聚乙烯和硬聚氯乙烯等)不能冷却得过快,否则容易造成残余内应力,影响塑件的外观质量;软质或结晶型塑件则要求及时冷却,以免塑件变形。
4. 塑件的牵引、卷取和切割
塑件自口模挤出后,会由于压力突然解除而发生离模膨胀现象,而冷却后又会发生收缩现象,从而使塑件的尺寸和形状发生改变。此外,由于塑件被连续不断地挤出,自重越来越大,如果不加以引导,会造成塑件停滞,使塑件不能顺利挤出。因此,在冷却的同时,要连续均匀地牵引塑件。
牵引过程由挤出机辅机之一的牵引装置来完成。牵引速度要与挤出速度相适应,一般是牵引速度大于挤出速度,以消除塑件尺寸的变化,同时对塑件进行适当的拉伸以提高质量。不同塑件的牵引速度不同。通常单丝的牵引速度可以快些,其原因是牵引速度大,塑件的厚度和直径减小,纵向抗断裂强度增高,扯断伸长率降低。挤出硬质塑件的牵引速度则不能大,通常需将牵引速度规定在一定范围内,并且要十分均匀,不然就会影响其尺寸均匀性和力学性能。
通过牵引的塑件根据使用要求在切割装置上裁剪(如棒、管、板、片等),或在卷取装置上绕制成卷(如单丝、电线电缆等)。此外,有些塑件有时还需进行后处理,以提高其尺寸稳定性。
图2-5所示为常见的挤出工艺过程示意图。

图2-5 常见的挤出工艺过程示意图
1-挤管机头;2-定型与冷却装置;3-牵引装置;4-切断装置;
5-片(板)坯挤出机头;6-碾平与冷却装置;7-切边与牵引装置
三 挤出成型的工艺参数
挤出成型工艺参数包括温度、压力、挤出速度和牵引速度等,下面分别进行讨论。
1. 温度
温度是挤出过程得以顺利进行的重要条件之一。塑料从加入料筒到最后成为塑件经历了一个极为复杂的温度变化过程。图2-6所示为聚乙烯的温度变化曲线,它是沿料筒轴线方向测得的。由图2-6可知,料筒和塑料温度在螺杆各段是有差异的,要满足这种要求,料筒就必须有加热、冷却和温度调节等一系列装置。一般来说,对挤出成型温度进行控制时,加料段的温度不宜过高,而压缩段和均化段的温度则可高一些,具体数值应根据塑料种类和塑件情况而定。机头和口模温度相当于注射成型时的模温,通常机头的温度必须控制在塑料热分解温度以下,而口模处的温度可比机头温度稍低一些,但应保证塑料熔体具有良好的流动性。

图2-6 挤出成型温度曲线
1-料筒温度曲线;2-螺杆温度曲线;3-物料(PE)的最高温度;
4-物料(PE)的平均温度;5-物料(PE)的最低温度
图2-6所示的温度曲线只是挤出过程中温度的宏观表示。在实际的挤出过程中,即使是稳定挤出,每个测试点的温度还会随时间的变化而产生波动,并且这种波动往往具有一定的周期性。习惯上,把沿着塑料流动方向上的温度波动称为轴向温度波动。另外,在沿着与塑料流动方向垂直的截面上,各点的温度值也是不同的,存在有径向温差。
上述的温度波动和温差,都会给塑件质量带来十分不良的后果,使塑件产生残余应力,各点强度不均匀,表面灰暗无光。产生这种波动和温差的因素很多,如加热、冷却系统不稳定,螺杆转速变化等,但以螺杆设计和选用的好坏影响最大。表2-8是几种塑料挤出成型管材、片材和板材等的温度参数。
表2-8 热塑性塑料挤出成型时的温度参数
塑 料 名 称 | 挤 出 温 度 / ℃ | 原料中水分控制/% | |||
加料段 | 压缩段 | 均化段 | 机头及口模段 | ||
丙烯酸类聚合物 | 室温 | 100~170 | ~200 | 175~210 | ≤0.025 |
醋酸纤维素 | 室温 | 110~130 | ~150 | 175~190 | < 0.5 |
聚酰胺(PA) | 室温~90 | 140~180 | ~270 | 180~270 | < 0.3 |
聚乙烯(PE) | 室温 | 90~140 | ~180 | 160~200 | < 0.3 |
硬聚氯乙烯(HPVC) | 室温~60 | 120~170 | ~180 | 170~190 | < 0.2 |
软聚氯乙烯及氯乙烯共聚物 | 室温 | 80~120 | ~140 | 140~190 | < 0.2 |
聚苯乙烯(PS) | 室温~100 | 130~170 | ~220 | 180~245 | < 0.1 |
2. 压力
挤出过程中,由于料流阻力增加,螺杆槽深度逐渐变浅,以及塑料熔体经过滤板、过滤网和口模时运动状态发生变化等产生阴碍,因而在沿料筒轴线方向,塑料内部建立起一定压力。这种压力的建立是塑料经历物理状态的变化,得以均匀密实并得到成型塑件的重要条件之一。和温度一样,压力随时间的变化也会产生周期性波动,这种波动对塑件质量同样有不利影响,如局部疏松,表面不平,弯曲等。螺杆、料筒的设计,螺杆转速的变化,加热、冷却系统的不稳定都是产生压力波动的原因。为了减少压力波动,应合理控制螺杆转速,保证加热和冷却装置的温度控制精度。
3. 挤出速度
挤出速度是指单位时间内在机头和口模中挤出的塑化好的物料量或塑件长度,它表征着挤出生产能力的高低。影响挤出速度的因素很多,如机头、螺杆和料筒的结构,螺杆转速,加热和冷却系统结构以及塑料的性能等。在挤出机的结构和塑料品种及塑件类型已确定的情况下,挤出速度仅与螺杆转速有关,因此,调整螺杆转速是控制挤出速度的主要措施。挤出速度在生产过程中也存在有波动现象,对产品的形状和尺寸精度有显著的不良影响。为了保证挤出速度均匀,应设计与生产的塑件相适应的螺杆结构和尺寸,严格控制螺杆转速,严格控制挤出温度,防止因温度改变而引起挤出压力和熔体粘度变化而导致的挤出速度的波动。
4. 牵引速度
挤出成型主要是生产长度连续的塑件,因此必须设置牵引装置。从机头和口模中挤出的塑件,在牵引力作用下将会发生拉伸取向。拉伸取向程度越高,塑件沿取向方位的拉伸强度也越大,但冷却后长度收缩也大。通常情况下,牵引速度可与挤出速度相当。牵引速度与挤出速度的比值称牵引比,其值必须等于或大于1。不同塑件采用的牵引速度不同,通常挤出单丝的牵引速度可以快些;挤出硬质塑件的牵引速度则不能大,通常需将牵引速度定在一定的范围内,并且要十分均匀,不然就会影响塑件的尺寸均匀性和力学性能。
表2-9是几种塑料管材的挤出成型工艺参数。
表2-9 几种塑料管材的挤出成型工艺参数
塑 料 管 材 工 艺 参 数 | 硬聚氯乙烯(HPVC) | 软聚氯乙烯(LPVC) | 低密度聚乙烯(LDPE) | ABS | 聚酰胺-1010 (PA-1010) | 聚碳酸酯(PC) | |
管材外径/mm | 95 | 31 | 24 | 32.5 | 31.3 | 32.8 | |
管材内径/mm | 85 | 25 | 19 | 25.5 | 25 | 25.5 | |
管材厚度/mm | 5 | 3 | 2 | 3 |
| — | |
机筒温度/0C | 后段 | 80~100 | 90~100 | 90~100 | 160~165 | 200~250 | 200~240 |
中段 | 140~150 | 120~130 | 110~120 | 170~175 | 260~270 | 240~250 | |
前段 | 160~170 | 130~140 | 120~130 | 175~180 | 260~280 | 230~255 | |
机头温度/0C | 160~170 | 150~160 | 130~135 | 175~180 | 220~240 | 200~220 | |
口模温度/0C | 160~180 | 170~180 | 130~140 | 190~195 | 200~210 | 200~210 | |
螺杆转速(r/min) | 12 | 20 | 16 | 10.5 | 15 | 10.5 | |
口模内径/mm | 90.7 | 32 | 24.5 | 33 | 44.8 | 33 | |
芯模内径/mm | 79.7 | 25 | 19.1 | 26 | 38.5 | 26 | |
稳流定型段长度/mm | 120 | 60 | 60 | 50 | 45 | 87 | |
牵引比 | 1.04 | 1.2 | 1.1 | 1.02 | 1.5 | 0.97 | |
真空定径套内径/mm | 96.5 | — | 25 | 33 | 31.7 | 33 | |
定径套长度/mm | 300 | — | 160 | 250 | — | 250 | |
定径套与口模间距/mm | — | — | — | 25 | 20 | 20 | |
该文章所属专题:塑料模具设计教程
1;所有标注为智造资料网zl.fbzzw.cn的内容均为本站所有,版权均属本站所有,若您需要引用、转载,必须注明来源及原文链接即可,如涉及大面积转载,请来信告知,获取《授权协议》。
2;本网站图片,文字之类版权申明,因为网站可以由注册用户自行上传图片或文字,本网站无法鉴别所上传图片或文字的知识版权,如果侵犯,请及时通知我们,本网站将在第一时间及时删除,相关侵权责任均由相应上传用户自行承担。
[complaint:内容投诉]
智造资料网打造智能制造3D图纸下载,在线视频,软件下载,在线问答综合平台 » 塑料模具设计教程_2-4挤出成型原理及工艺特性(图文教程)

