本文分析介绍了对卧式刨台镗工作台丝杠机构、拖拉机底盘磨合试验台离合机构的维修实例,或通过改变传动受力点的位置,或在原结构上进行扩容的方式,以达到快速修复成线设备,降低设备修理复杂程度,节约修理时间,保证生产节拍的良好效果。
中国一拖集团有限公司(简称:一拖公司)是国家“一五”时期156个重点建设项目之一,作为一家有着近60年历史的中国特大型机械制造企业,设备数目众多,机型繁多,随着设备新度系数的不断下降,设备技术状况的持续下滑。如何在现有设备基本结构不变的情况下,通过局部结构的改进来改善设备性能,从而满足生产和质量的要求?
下面结合一拖公司内生产节拍要求高的、制约大轮拖生产瓶颈设备的维修工作实例进行叙述。
1.卧式刨台镗TQXL6511工作台传动丝杠机构的改进
(1) 原丝杠机构概述
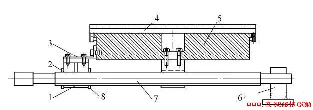
大轮拖传动箱壳体加工线上的汉川机床厂制造的卧式刨台镗TQXL6511担负铣面、钻孔等工序加工。该机床的外观布局结构形式与同加工线上的另一台昆明机床厂制造的镗床TX68有相似之处, 都是利用在立柱上的可伸缩主轴箱机构, 完成对工件的钻、铣等加工, 结构上的区别在于TX68是标准尺寸为800mm×800mm的四方形可旋转式工作台,包括X、Y和B轴,适合于加工尺寸较小的箱体类零件;而TQXL6511是工作尺寸为900mm×1 800mm的滑枕式工作台, 只有X方向的移动,适合于加工大轮拖的大型箱体类零件,齿轮、轴等大部分零件均可以通用,为备件供应带来了一定的便利。
经过这几年大轮拖产能的不断提升,金属切削机床普遍是24h三班制的连续高强度运转,工作台丝杠传动螺母支座因受切削力造成的振动,4个内六方螺钉经常被切断,重复故障率极高。
在维修时需要先拆卸工作台上的箱体夹具,由于900mm×1 800mm的工作台为上、下两层结构组成,要将上层的滑台侧向移动0.5m左右,露出支座沉孔才能实施修理工作,造成维修及调整工作量巨大,而且,螺母支座的4个螺钉处于一个120mm×120mm的方形沉孔的底部,空间狭窄,扳手等工具探进去却很难用力,维修的可达性极差。每次修理不仅费尽周折,而且需要2天维修时间,很难保证生产节拍的要求。
(2)改进方案的探讨和制订
为了解决维修难题,有效降低重复故障的发生,同时考虑到这台设备已经是加工传动箱壳体的专机,行程范围较为固定,提出设想将不易检修的丝杠螺母从工作台下方移出,通过外侧联接进行传动的改进方案。

图1 工作区间行程对比
滑台的原始工作行程为1 800mm,螺母支架外形长度约为200mm,除去预留300mm的空挡行程,预计改进后滑台的工作行程缩短到1 500mm,而加工箱体的长度约为900mm,如图1所示,完全能满足箱体加工及调整的要求。

图2 改装结构图
1.螺母联接体 2.丝杠螺母
3.固定三角支架 4.锁紧螺母
单因移出结构在高度尺寸上发生的变化,原有的方形螺母已不适用,而且方形螺母加工难度较大,重新设计了一套镶套结构的圆形螺母如图2所示,在安装时先将圆形螺母套装入支架孔内后用螺母固定,再将改制的三角形支架固定到滑台的一侧。螺母损坏时就很方便地拆下进行检修,维修难度和工作量大大下降,有效节约维修时间。

图3 改装前后对比图
1.螺母联接体 2.丝杠螺母
3.固定三角支架 4.上层工作台
5.下层工作台 6.轴承支座
7.丝杠 8.锁紧螺母
改造后通过手动空转试验感觉无滞点,实际试车设备运行平稳,零件加工质量合格,满足加工工艺的要求,如图3所示。
2.拖拉机底盘磨合试验台离合器结构的改进
(1)故障现象分析

图4 原轴承座结构
拖拉机底盘磨合试验台属于满足工艺要求的专用设备,自动挂接底盘变挡进行磨合试验,在运转过程中会产生一定的轴向力,因为受尺寸限制同时为简化结构,该设备仅选用了普通的轻系列深沟球轴承61912,如图4所示,造成其离合器轴承结构经常受力损坏。现场分析后认为61912轴承承载负荷系数低,查阅(化学工业出版社)《机械设计手册第二卷》中“常用滚动轴承尺寸及性能参数”相关内容,深沟球轴承(GB/T276—1994)的基本额定动载荷Cr为16.4kN,易短时间内造成轴承发热损坏。但如果加大轴承规格型号,安装直径有所增加,而壳体支架只有一层60mm的薄板,将无法实施。
(2)改进方案的制定
通过现场多次推敲、比对,认为只有提高轴承载荷系数才能有效降低设备的重复故障,改造方案最终确定为选用高一档的轴承系列型号6012,基本额定动载荷Cr为31.5kN,载荷比原先的提高约2倍,并改装两侧的轴承压盖,根据选用的轴承重新设计压盖,在压盖上集成一个以原轴承底孔φ 60mm作为轴承座的定位基准轴承孔座,选用小间隙配合,从而方便拆装。

图5 改装后轴承座结构
1.花键轴 2.外压盖 3.轴承6012 4.带孔轴承座
同时因为轴承型号加大,各个零部件在轴向的安装尺寸也有了较大的变化,需要确定花键轴外径上轴承定位台阶的长度。为保证生产的连续性无法停机现场测绘,拟定一个过渡的方案,即加工花键轴时按轴承的内径配合尺寸加工出外径待用,当轴承的台阶事先加工好两个隔套,在实际装配时,可调整到合适的位置,在不接触内环的一侧进行焊接固定,然后根据测量的数据,如图5所示,一举装配成功。经过一段时间的运行,有效降低了轴承损坏的重复故障,并将此法推行到其他9台拖拉机底盘磨合试验台上。
在日常的设备维修工作中,不仅要保持设备处于良好的性能状态,更要通过不断的实践创新,改造设备在设计、安装中的问题,满足生产节拍和产品质量的要求。
1;所有标注为智造资料网zl.fbzzw.cn的内容均为本站所有,版权均属本站所有,若您需要引用、转载,必须注明来源及原文链接即可,如涉及大面积转载,请来信告知,获取《授权协议》。
2;本网站图片,文字之类版权申明,因为网站可以由注册用户自行上传图片或文字,本网站无法鉴别所上传图片或文字的知识版权,如果侵犯,请及时通知我们,本网站将在第一时间及时删除,相关侵权责任均由相应上传用户自行承担。
[complaint:内容投诉]
智造资料网打造智能制造3D图纸下载,在线视频,软件下载,在线问答综合平台 » 机械传动机构如何改进?有哪些方法(图文教程)

