一、单一剖切面
单一剖切面用得最多的是投影面的平行面, 单一剖切面还可以用垂直于基本投影面的平面,当机件上有倾斜部分的内部结构需要表达时,可和画斜视图一样,选择一个垂直于基本投影面且与所需表达部分平行的投影面,然后再用一个平行于这个投影面的剖切平面剖开机件,向这个投影面投影,这样得到的剖视图称为斜剖视图,简称斜剖视。
斜剖视图主要用以表达倾斜部分的结构,机件上与基本投影面平行的部分,在斜剖视图中不反映实形,一般应避免画出,常将它舍去画成局部视图。
画斜剖视时应注意以下几点:
①斜剖视最好配置在与基本视图的相应部分保持直接投影关系的地方,标出剖切位置和字母,并用箭头表示投影方向,还要在该斜视图上方用相同的字母标明图的名称,如图a所示
②为使视图布局合理,可将斜剖视保持原来的倾斜程度,平移到图纸上适当的地方;为了画图方便,在不引起误解时,还可把图形旋转到水平位置,表示该剖视图名称的大写字母应靠近旋转符号的箭头端,如图b所示。

③ 当斜剖视的剖面线与主要轮廓线平行时,剖面线可改为与水平线成30度或60度角,原图形中的剖面线仍与水平线成45度,但同一机件中剖面线的倾斜方向应相同。
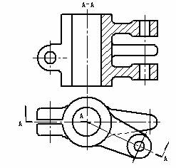
二、几个相交的剖切平面
用相交的剖切平面(且交线垂直于某一投影面)剖开机件的方法称为旋转剖。
采用这种方法画剖视图时,先假想按剖切位置剖开机件,然后将被剖开的结构及有关部分旋转到与选定的投影面平行后再进行投射。如图中双点画线所表示出的部分,但在实际绘图时不画出来。处在剖切平面后的其它结构一般仍按原位置投影,如图中小油孔。当剖切后产生不完整要素时,应将此部分按不剖绘制。

旋转剖必须标注,在剖切平面的起迄和转折处应标注相同的字母。旋转剖在起迄处应画箭头表示投影方向。

三、几个平行的剖切平面
用几个平行的剖切平面剖开机件的方法,称为阶梯剖。图中机件其主视图是用了两个相互平行的且平行于基本投影面的剖切平面剖切的。阶梯剖适用于表达外形简单,内形较复杂且难以用单一剖切平面剖切表达的机件。阶梯剖必须标注,它的各剖切平面相互连接而不重叠,其转折符号成直角且应对齐。当转折处位置有限又不会误解时可省略字母。剖切是假想的,在剖视图中不得画出各剖切面的分界线,像是用同一个平面剖出的剖视图。

1;所有标注为智造资料网zl.fbzzw.cn的内容均为本站所有,版权均属本站所有,若您需要引用、转载,必须注明来源及原文链接即可,如涉及大面积转载,请来信告知,获取《授权协议》。
2;本网站图片,文字之类版权申明,因为网站可以由注册用户自行上传图片或文字,本网站无法鉴别所上传图片或文字的知识版权,如果侵犯,请及时通知我们,本网站将在第一时间及时删除,相关侵权责任均由相应上传用户自行承担。
[complaint:内容投诉]
智造资料网打造智能制造3D图纸下载,在线视频,软件下载,在线问答综合平台 » 机械制图剖视图注意事项(图文教程)

