摘要:本文针对矿井辅助运输设备对安全制动的要求,详细介绍了离心释放器的结构,给出了它的设计图,阐述了它的工作原理。在此基础上就离心释放器在蓄电池单轨吊车安全制动系统中的应用给予了详细说明。
关键词:离心释放器;单轨吊车;安全制动
Structure of centrifugal releaser and its application
Abstract: The article introduces in detail the structure, designing diagram and working principle of the centrifugal releaser used in coal mine auxiliary conveyance equipment, in allusion to the requirement of its safety brake system. Then on this basis the article provides detailed explanation for centrifugal releaser’s application in the safety brake system of battery mono rail locomotive.
Key Words: centrifugal releaser ; mono rail locomotive ; safety brake
1 引言
随着我国煤矿高产高效工作面不断涌现,生产日益集中化,采掘设备向重型化发展,回采面效率不断提高,使得高效辅助运输设备有了广阔的应用前景。
当前,各国煤矿使用的高效辅助运输设备的类型主要有单轨吊车、卡轨车、齿轨车和无轨胶轮车等。这些辅助运输设备多为自驱动且能够在一定坡度范围内运行,因此机车的制动性能在安全生产中处于至关重要的地位。《煤矿安全规程》第378条规定:“单轨吊车、卡轨车、齿轨车和无轨胶轮车的牵引机车和驱动绞车,应具有可靠的制动系统。”因此,机车能够在超速行驶或者在坡道上操作失灵时自动实施安全制动非常重要。本文将以单轨吊车中的安全制动为应用对象,详细阐述离心释放器的结构及其在单轨吊车安全制动系统中的应用。
2 离心释放器的原理与结构
2.1 原理
物体做圆周运动时它的速度方向不断变化,如果不是做匀速圆周运动,速度大小也要发生变化。因此,做圆周运动的物体具有加速度,它必须受到外力作用。如果外力只改变它的速度方向,则此外力的方向必定指向圆心,这样的外力就是向心力。一个正在做圆周运动的物体,如果外力突然消失,或者突然减小,以至于不足以维持原来的圆周运动,物体就会逐渐远离圆心,这种现象叫做离心现象。物体做圆周运动的角速度越大,离心现象越明显,物体远离圆心也越远。如果一质量为m的飞锤通过质量不计的弹簧与圆心相连,由公式F=mrω2 可知,m不变的情况下,随着转动角速度ω的增大,转动半径r也越大。利用这一原理可以设计离心释放器。把物体运动的最大速度通过传动比可换算成最大角速度ωmax,它对应着一个最大转动半径rmax。当ω≥ωmax时,则有r≥rmax,在这一位置设置一个“开关”,由飞锤m进行触发,就可以实现对超速运动的物体m进行触发控制的目的。
2.2 结构

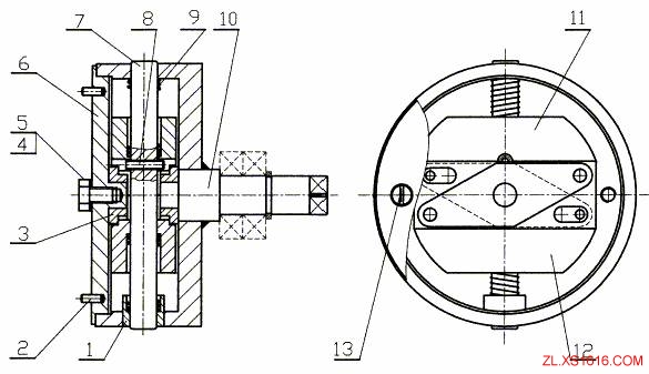
图1 离心释放器结构图
Fig.1 The structure diagram of centrifugal releaser
1-滑套 2-销 3-连接组件 4-垫圈 5-螺钉 6-盖板 7-滑动轴 8-销钉 9-压簧 10-转动体组件 11-滑块 12-滑块 13-螺钉
离心释放器的主要构件是离心式飞锤,图1是离心释放器的结构图,主要有转动体组件、滑块、滑动轴、连接板组件、压簧等组成。在滑动轴上装有两个滑块——飞锤,滑块11通过销钉与滑动轴相联结,滑块12可在滑动轴上滑动。在转动体组件高速旋转时,滑块类似于圆锥摆,产生离心现象。滑块沿滑动轴向外移动,由于滑块11与滑动轴联结在一起,所以当滑块11向外移动时,就带动滑动轴一起向外移动。转轴转得越快,滑动轴向外移动距离越大,即滑动轴向外移动距离的大小与转动体组件轴的旋转快慢有着对应关系,再通过与安装在滑动轴轴线方向的装置控制制动“开关”的启动,从而达到触发安全制动响应的目的。因此离心释放器具有限速方面的用途,被广泛使用在辅助运输设备制动系统中。
3 应用
笔者就离心释放器在蓄电池单轨吊车安全制动系统中的应用给予说明。图2为安全制动系统原理图。该系统主要由齿轮泵、溢流阀、蓄能器、离心释放器、释放阀、液控换向阀和制动油缸等组成。

图2 安全制动系统原理图
Fig.2 Principle diagram of safety brake system
1-过滤器 2-电机 3-齿轮泵 4-溢流阀 5-蓄能器 6-离心释放器 7-释放阀 8-单向阀 9-液控换向阀 10- 制动油缸
机车运行时,制动闸处于打开状态。具体工作过程如下:打开制动闸时,液控换向阀通过释放阀从蓄能器获得控制压力,即左位是工作状态;齿轮泵排出的高压油经过单向阀和液控换向阀进入制动油缸的有杆腔,在压力油的作用下,油缸活塞杆压缩弹簧向内收缩,通过机械杠杆机构打开制动闸;齿轮泵通过溢流阀溢流,给油缸保持所需的压力,维持制动闸打开状态。根据机车的设计要求,在机车速度>2.1m/s的情况下,自动启动安全制动,此时制动闸处于闭合状态,制动闸靴压紧在轨道上,通过制动闸靴与轨道的作用实施安全制动。具体工作过程如下:离心释放器的滑块带动滑动轴甩出,拨动拨叉机构,使释放阀开启(处于右位),蓄能器迅速失去压力,即液控换向阀失去控制压力,在弹簧力作用下液控换向阀右位进入工作状态,此时切断齿轮泵的高压油,液控换向阀的出口压力为零,从而使制动油缸有杆腔内液压油在弹簧力的作用下通过液控换向阀迅速流回油箱,弹簧力驱使油缸活塞杆向外移动,通过机械杠杆机构使制动闸靴以足够的压力向轨道施压,从而使机车制动。
4 结束语
使用该离心释放器的蓄电池单轨吊机车,其安全制动性能通过“煤炭工业邢台防爆柴油机械产品质量监督检验测试中心”的检测。机车在汾西矿务局水峪煤矿井下使用,证明该离心释放器设计合理,启动安全可靠。
参考文献:
[1]张江林,门志顺,陈志辉.蓄电池单轨吊机车液压系统工作原理分析[J].河北煤炭,1999,(2):42-43.
[2]张江林.防爆特殊型蓄电池单轨吊车工作制动系统的改进及试验[J].煤矿机电,1999,(1):31-32.
[3]国家煤矿安全监察局.煤矿安全规程.2001.
1;所有标注为智造资料网zl.fbzzw.cn的内容均为本站所有,版权均属本站所有,若您需要引用、转载,必须注明来源及原文链接即可,如涉及大面积转载,请来信告知,获取《授权协议》。
2;本网站图片,文字之类版权申明,因为网站可以由注册用户自行上传图片或文字,本网站无法鉴别所上传图片或文字的知识版权,如果侵犯,请及时通知我们,本网站将在第一时间及时删除,相关侵权责任均由相应上传用户自行承担。
[complaint:内容投诉]
智造资料网打造智能制造3D图纸下载,在线视频,软件下载,在线问答综合平台 » 离心释放器的结构及其应用(图文教程)

