零件图上所标注的尺寸不但要满足设计要求,还应满足生产加工要求,科学的给零件图标注尺寸,可以让生产加工者加工制造更方便,减少计算错误,提高工作效率,保证零件产品质量。
序号 | 图例 | 注意事项 | 说明 | |
改进前 | 改进后 | |||
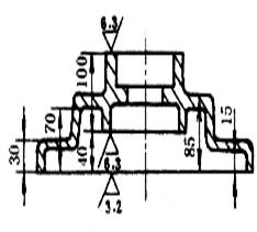
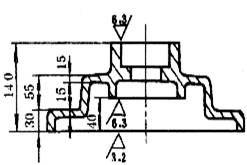
1 |
|
| 加工面与毛坯面的关联尺寸原则上在一个坐标方向,只应当标注一个(当多于一个时,应注明哪一个是划线基准) | 毛坯面本身的尺寸误差大,一个加工面难以同时满足几个毛坯面的尺寸关系 |
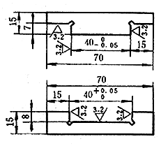
2 |
|
| 零件图上的尺寸、公差、表面祖糙度、技术要求等,尽可能集中标注 | 阅读方便、清楚、避免加工时出差错 |
3 |
|
| 尺寸标注应考虑到加工顺序 | 左图是从精磨的齿轮端面起注尺寸,而此面是最后加工的,应按右图从车削端面起标注为好(有特殊要求者例外) |
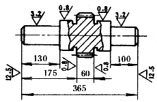
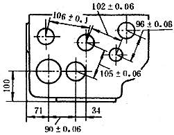
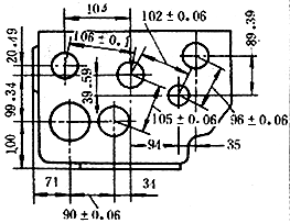
4 |
|
| 尺寸标注应满足加工时的实际要求 | 箱体孔不仅要注出孔距测量尺寸,而且要注出加工时所需的坐标尺寸 |
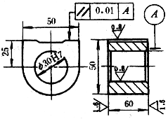
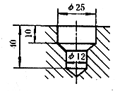
5 |
|
| 尺寸标注应考虑检验和测量方便 | 分别注出不同直径的钻削深度,便于测量 |
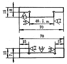
6 |
|
| 选择合理的尺寸封闭环 | 左图未留尺寸封闭环 |
|
| 封闭环应留在非主要尺寸上 | ||
免责声明:
1;所有标注为智造资料网zl.fbzzw.cn的内容均为本站所有,版权均属本站所有,若您需要引用、转载,必须注明来源及原文链接即可,如涉及大面积转载,请来信告知,获取《授权协议》。
2;本网站图片,文字之类版权申明,因为网站可以由注册用户自行上传图片或文字,本网站无法鉴别所上传图片或文字的知识版权,如果侵犯,请及时通知我们,本网站将在第一时间及时删除,相关侵权责任均由相应上传用户自行承担。
[complaint:内容投诉]
智造资料网打造智能制造3D图纸下载,在线视频,软件下载,在线问答综合平台 » 科学的给零件图标注尺寸(图文教程)
1;所有标注为智造资料网zl.fbzzw.cn的内容均为本站所有,版权均属本站所有,若您需要引用、转载,必须注明来源及原文链接即可,如涉及大面积转载,请来信告知,获取《授权协议》。
2;本网站图片,文字之类版权申明,因为网站可以由注册用户自行上传图片或文字,本网站无法鉴别所上传图片或文字的知识版权,如果侵犯,请及时通知我们,本网站将在第一时间及时删除,相关侵权责任均由相应上传用户自行承担。
[complaint:内容投诉]
智造资料网打造智能制造3D图纸下载,在线视频,软件下载,在线问答综合平台 » 科学的给零件图标注尺寸(图文教程)















