一、目的
1、规范设计人员产品设计,提高设计质量。
2、为研发中心产品设计人员提供参考。
二、范围
1、本指导书适用于研发中心产品设计人员。
2、本指导书适用于铝合金压铸车轮的设计。
目录
车轮产品结构基本知识
一、车轮结构各部位名称
二、车轮的种类
三、车轮的基本装配知识
产品设计工作流程
产品结构设计
一、确定车轮的参数
二、5度深槽轮辋轮辋设计
三、气门孔尺寸和位置
四、车轮安装盘设计
五、车轮轮辐结构设计
六、轮辐掏料结构设计
七、车轮中心孔结构设计
八、螺栓孔结构设计
九、装饰盖结构设计
十、车轮机加余量的常规性设计
十一、各种规格车轮的重量设计标准
十二、常用PCD与中心孔对应表
车轮飞轮结构设计
车轮产品结构基本知识
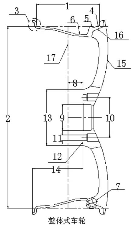
一、车轮结构各部位名称
1、轮辋:与轮胎装配配合,支撑轮胎的车轮部分。
2、轮辐:与车轴轮毂实施安装连接,支撑轮辋的车轮部分。
3、偏距:轮辋中心面到轮辐安装面间的距离。有正偏距、零偏距、负偏距之分。
4、轮缘:保持并支撑轮胎方向的轮辋部分。
5、胎圈座:与轮胎圈接触,支撑维持轮胎半径方向的轮辋部分。
6、槽底:为方便轮胎装拆,在轮辋上留有一定深度和宽度的凹坑。
7、气门孔:安装轮胎气门嘴的孔。

1 | 轮辋宽度 | 10 | 螺栓孔节圆直径 |
2 | 轮辋名义直径 | 11 | 螺栓孔直径 |
3 | 轮缘 | 12 | 轮辐安装面 |
4 | 胎圈座 | 13 | 安装面直径 |
5 | 凸峰 | 14 | 后距 |
6 | 槽底 | 15 | 轮辐 |
7 | 气门孔 | 16 | 轮辋 |
8 | 偏距 | 17 | 轮辋中心线 |
9 | 中心孔 | 18 |
二、车轮的种类
按轮辋和轮辐结合形式的不同,车轮可分为如下结构,其代表型结构用图例来表示:
1、整体式:轮辐和轮辋是由一个整体组成的。
2、组合式:由2个以上的零件组合而成的车轮,其组成的零件可以分开,按其组合形式可分为三类:
(1)、两片式车轮:由轮辋和轮辐结合起来的结构;
(2)、三片式车轮:由两个轮辋零件和一个轮辐结合起来的结构。
(3)、辐条式车轮:轮辋与中央轮盘部件,通过很多辐条实现连结的车轮结构。


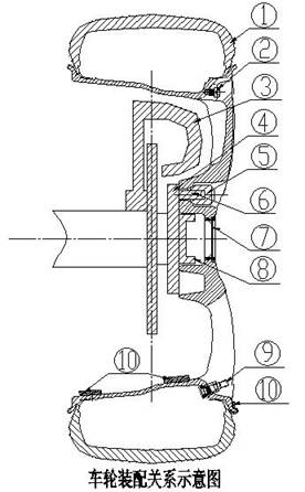
三、车轮的基本装配知识
车轮的有关装配主要有以下的几种装配情况:

1 | 车轮轮辋与轮胎之间的装配 |
2 | 车轮与装饰钉之间的装配 |
3 | 车轮与刹车钳之间的装配 |
4 | 车轮安装面与车轴之间的装配 |
5 | 车轮螺栓孔与螺母之间的装配 |
6 | 车轮螺栓孔与车轴之间的装配 |
7 | 车轮与装饰盖之间的装配 |
8 | 车轮中心孔与车轴之间的装配 |
9 | 车轮气门孔与气门嘴之间的装配 |
10 | 车轮与平衡块之间的装配 |
产品设计工作流程
产品结构设计
车轮的结构设计的基本步骤:
(1)、根据车轮的装车情况对设计的车轮进行归类,并初定出车轮的各种装配参数。
(2)、车轮装配参数确定后,根据车轮的外观形状和偏距、装配情况等要素来确定车轮选用正向轮辋还是反向轮辋及其形状。
(3)轮辋确定后就可以根据装车的要求、车轮形状和载荷等确定出车轮安装盘和轮辐的初步设计。
(4)、根据轮辐形状、轮辋形状和车轮的规格定义出机加余量和掏料结构的设计。
(6)、对做出的车轮进行重量计算和有限元分析,确定是否需要进一步优化车轮的产品结构。
(7)、如果重量计算和有限元分析合理,即可完成车轮的结构设计并输出工程图纸,如果不合理则重复上面步骤进行更改。
一、确定车轮的参数
1、一般在设计的初期,客户会提供设计新开发车轮的一些装车要求,如车轮的PCD、偏距、规格、装车情况等信息。如果客户输入不清晰,根据设计的车轮是用于轿车还是卡车(或SUV)我们可以大概设定出这个车轮的装配参数,见下表:
车型 | 常用规格 | 常用PCD范围 | 常用偏距范围 | 安装盘直径 |
轿车 | 20X8.5 | 4/5X100~120.65 | 30~50mm | 150~155mm(按上面定义的安装盘直径设计) |
18X7.5 | ||||
17X7.0 | ||||
SUV/ 卡车 | 20X9.0 | 5/6X127~139.7 | 0~30mm | 170~175mm(按上面定义的安装盘直径设计) |
22X9.5 | ||||
24X10 |
比如我们要设计一个用于轿车的车轮,根据上面的表我们选用这个车轮的装配参数如下:
规格:20X8.5;
偏距:45mm;
PCD范围:5X114.3~5X120.65;
安装盘直径:155mm。
2、装车载荷的确定
由于国家地域的差异,为不同地区设计的车轮载荷也不一样,一般设计时按客户提供的参数来决定。比如为北美设计的车轮,设计的载荷可按照下表来大致确定:
PCD范围 | 设计载荷(LBS) |
PCD<5X120.65时 | 1600 |
5X120.65 | 2100~2200 |
PCD>8X165.1 | 3100~3200 |
二、5度深槽轮辋轮辋设计(参考各国的轮辋标准)
1、轮辋直径(J型轮辋)
A、16英寸及其以下:名义直径减去0.8mm(0.032In);
B、17英寸及其以上:名义直径加上4.8mm(0.188In)。
轮辋轮廓种类 | 轮辋名称(in) | 名义直径(mm) |
5度深槽轮辋 | 10 | 253.2 |
12 | 304 | |
13 | 329.4 | |
14 | 354.8 | |
15 | 380.2 | |
16 | 405.6 | |
17 | 436.6 | |
18 | 462 | |
19 | 487.4 | |
20 | 512.8 | |
21 | 538.2 | |
22 | 563.6 | |
23 | 589 | |
24 | 614.4 | |
26 | 665.2 | |
28 | 716 |
2、轮辋宽度(J型轮辋)
轮辋轮廓种类 | 轮辋名称(in) | 轮辋直径(mm) |
5度深槽轮辋 | 4.5 | 114.3 |
5 | 127 | |
5.5 | 139.7 | |
6 | 152.4 | |
6.5 | 165.1 | |
7 | 178 | |
7.5 | 190.5 | |
8 | 203 | |
8.5 | 216 | |
9 | 228.5 | |
9.5 | 241.3 | |
10 | 254 | |
10.5 | 266.7 | |
11 | 279.5 | |
12 | 305 | |
13 | 330 |
3、轮辋厚度规定(只适用于压铸轮辋)
尺寸(in) | 载荷(LBS) | 轮辋厚度(mm) |
<15 | ≤1600 | 4.2 |
15~17 | 4.5 | |
18~19 | 4.8 | |
20~22 | 5.0 | |
≥23 | 5.5 | |
<15 | 2100~2500 | 4.5 |
15~17 | 4.8 | |
18~19 | 5.0 | |
20~22 | 5.2 | |
≥23 | 5.8 | |
<15 | ≥3100 | 5.0 |
15~17 | 5.2 | |
18~19 | 5.5 | |
20~22 | 5.8 | |
≥23 | 6.0 |
4、车轮胎圈座组合
胎圈座组合表
组合状态 | 内侧 | 外侧 |
标准(适用正向轮辋) | 圆峰 | 平峰 |
选用(适用反向轮辋) | 平峰 | 圆峰 |
选用 | 圆峰 | 圆峰(凸峰圆角R4取3~6mm) |
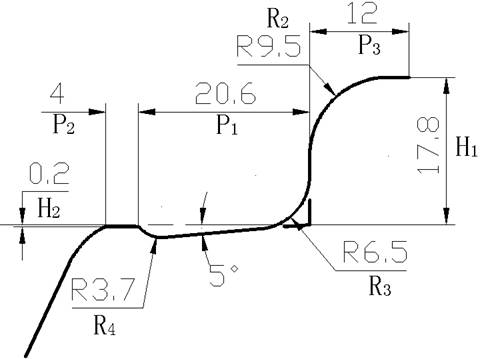
5、轮辋扁平凸峰轮廓尺寸和形状(mm)

单位:mm
轮辋 标准 | 轮缘高度H1 | 凸峰高度H2 | 胎座宽度P1 | 平峰宽度P2 | 轮缘圆角R2 | 胎座圆角R3 | 胎座侧圆角R4 | 轮缘厚度P3 |
TRA标准 | 17.5min | 0.2~0.5 | 19.8min | 4min | 9.5min | 6.5max | 4max | 11min |
注:A、上面附图为5度深槽J型轮辋扁平峰设计的常规尺寸(适用于TRA标准,适用的规格范围为14英寸到28英寸);
B、其中min为最小值的意思;max为最大值的意思。
6、轮辋圆周凸峰轮廓尺寸和形状(mm)

单位:mm
轮辋 标准 | 轮缘高度H1 | 胎座宽度P1 | 轮缘厚度P3 | 轮缘圆角R2 | 胎座圆角R3 | 凸峰圆角R5 | 凸峰侧圆角R4 | 凸峰侧圆角R6 |
TRA标准 | 17.5min | 21min | 11min | 9.5min | 6.5max | 8min | 3min | 3min |
注:A、上面附图为5度深槽J型轮辋圆凸峰设计的常规尺寸(适用于TRA标准,适用的规格范围为14英寸到28英寸);
B、其中min为最小值的意思;max为最大值的意思。
7、轮辋正面轮缘结构设计
轮辋正面的轮缘设计主要涉及到铸造,轻量化和冲击试验等方面的因素。在符合轮辋标准的同时,下面为轮辋正面轮缘的常用设计结构。

单位:mm
轮辋标准 | 轮缘厚度P1 | 胎圈座宽度P2 | 轮缘圆角R1 | 轮缘圆角R2 |
TRA标准 | 12 | 5.0~5.5 | 2 | 60 |
8、轮辋反面轮缘结构设计

单位:mm
轮辋标准 | 轮缘宽度P1 | 轮缘宽度P2 | 轮缘厚度H | 轮缘圆角R1 | 轮缘圆角R2 | 轮缘圆角R3 |
TRA标准 | 12 | 6.5 | 5.5 | 1.5 | 3 | 9.5 |
9、正面包不锈钢圈时的正面轮缘设计
不休钢圈是车轮的一种装饰物,通过把不锈钢圈包扎在正面轮辋的外围,可使车轮呈现出一种轮缘车亮面的效果,见下图。

下面为包不锈钢圈时,正面轮缘部位的凹槽结构图:

轮辋是车轮结构里面标准化的一部分,由于轮辋和轮胎装胎时要保证两者的配合处有良好的气密性,所以轮辋胎圈座的两侧要严格按照标准执行。
按照轮辋的使用情况,轮辋可分成正向轮辋和反向轮辋,但两种结构的胎圈座结构都用上面的结构设计。 下面为应用正向轮辋和反向轮辋的示意图:

正向轮辋:装胎端在轮辋正面,轮胎从车轮的正面开始往里安装。
反向轮辋:装胎端在轮辋背面,轮胎从车轮的背面开始往里安装。
轮辋的选用主要根据车轮的形状、轮缘深度(LIP)、装车情况等参数来确定。
1、车轮需要深轮缘效果时,可采用反向轮辋结构,否则选用正向轮辋结构。
2、对用于轿车车轮,规格小于17英寸时,尽量采用正向轮辋,3、对用于SUV或卡车车轮,规格小于18英寸时,尽量采用正向轮辋。
三、气门孔尺寸和位置

1、气门孔位置尺寸说明
H1 | 最小值为8.1mm |
H2 | 最小值为6.8mm |
H3 | 对于如上图所示的正向轮辋,在结构允许下,槽底深度最小值可设计为21mm |
2、气门孔结构尺寸
气门孔类型 | 气门孔尺寸:DxdxH(mm) | 备注 |
A | 19.1x11.5x3.5 | 常用型 |
B | 17.5x11.5x3.5 X | 常用型 |
C | 20.6x11.5x3.5 | 少用型 |
D | 16x11.5x3.5 | 少用型 |
注:A、对于小孔厚度H,常规情况下用3.5mm,而对于公司的AR客户则要求小孔厚度H值为3.68mm。
B、根据JIS中的TR 413标准,采用无内胎场合时,气门嘴部位的壁厚,理想情况为3.0~4.5mm。
C、对于小孔直径d,常规情况下用11.5mm,而对于公司的德国客户则要求小孔直径为11.3mm。
四、车轮安装盘设计
1、安装盘直径设计
(1)、使用裸露螺栓孔的装饰盖时的安装盘直径:

(2)、使用覆盖螺栓孔的装饰盖和螺孔有沉孔结构的安装盘直径:

2、安装盘的装配设计
安装盘为车轮与车轴之间的连接面,安装盘直径的设计要考虑两个连接面之间的配合问题。
(1)、设计时应使车轮的安装盘直径比车轴上的连接面小一点。
(2)、根据装配的需要,一般要求车轮安装面的平面度在0.1mm以下。为了更好的减少安装面平面度对车轮与车辆之间配合的影响,设计时可让车轮安装面向内倾斜,即成锥面结构(见下图)。斜面与轮辋中心平面的夹角为0.2度。

(3)、车轮安装面不须涂装或电镀处理,原因是车轮安装面要与车轴连接面相配合、车轮的装拆易使涂层脱落,难于确保安装面的平面度,使车辆行驶时性能(车身振动、松动等)受其影响。
五、车轮轮辐结构设计
一般轮辐设计的顺序是先根据车轮的外观设计出轮辐正面的轮廓线,再设计轮辐背面的轮廓线,然后根据装车空间的需要进行调整两条线的位置,确定车轮剖截面的设计。下图为设计好的一个轮辐示意图。

从上图的结构可以看出,轮辐的设计特点是靠近轮辋位置的轮辐截面积最小,然后越靠近安装盘轮辐的截面积就越大。这是因为考虑到轮辐的受力分布(越靠近安装盘,轮辐受到的应力就越大)、铝液顺序凝固和补缩通道的需要。
根据载荷和轮辐宽度的差异,对于靠近轮辋部位的轮辐厚度,设计时可先考虑在20mm到26mm之间波动。而靠近安装盘部位的轮辐厚度,设计时可先考虑在25mm到32mm之间波动。
而应用覆盖螺栓孔的装饰盖设计时,可把安装盘的厚度控制在20~25mm之间,而安装盘和轮辐之间的“脖子”厚度控制在25~27mm之间。
六、轮辐掏料结构设计
轮辐掏料的设计主要考虑到轻量化,平衡轮辐应力和铸造等方面的因素。下面为轮辐的一个掏料设计示意图:

掏料设计主要根据车轮冲击和弯曲的有限元分析来进行。做初步的掏料设计时,可参考下面的参数(如上图A-A’截面)进行:
(1)轮辐厚度H2:厚度范围在20~26mm之间(根据轮辐的宽度来设计具体的数值)然后以3~6度的梯度递增。
(2)掏料底部到轮辐正面的距离H1:厚度范围在8~12之间。
(3)掏料斜面和窗口面之间的夹角:夹角范围在3~5度之间(比如窗口的拔模角度为7度时,掏料的拔模角度为10~12度之间)。
(4)、掏料底部圆角:对此处的R角可尽量设大一点,一般R角的范围在R5~R9之间。
(5)、掏料侧边厚度P:厚度范围在6~8mm之间,然后以2~4度的梯度递增。
七、车轮中心孔结构设计
中心孔结构的设计主要是需要更多的考虑装配的关系,即中心孔与车轴之间、中心孔与卡口盖之间、中心孔与杯盖之间的配合。
由于每个汽车厂商的车轴直径、车轴长度及其形状设计不一样,所以对中心孔设计的统一比较困难。
一般中心孔的设计需要根据客户提供的中心孔直径参数和该车型的装车曲线来确定。
1、中心孔安装面倒角的设计:
由于有些汽车车轴与车轴连接面之间可能存在着倒角关系,所以一般在中心孔安装面处设计一个倒角过渡(倒角结构见下图),以适应上面的需要。

2、中心孔直径设计:
车轮中心孔与车轴之间的配合为间隙配合,假使车轴直径为D1,中心孔直径为D,则两者正常的装配关系可用下面的公式表示:
D=D1+0.3~0.5mm
3、车轮中心孔有效高度设计
当车轴与中心孔之间进行配合时,除了保证车轮中心孔与车轴之间的配合为间隙配合外,还要求中心孔有足够的高度,以保证中心孔或装饰盖和车轴顶部不会干涉。常见的车轴结构如下图:

根据上图车轴的结构,我们常用的中心孔结构主要有以下的几种结构。
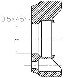
(1)、使用覆盖螺栓孔的装饰盖设计时,中心孔结构设计:
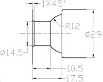
此时中心孔设计可采用简单的通孔型设计,安装面处设计一个3.5X45度的倒角即可。安装盘厚度H1一般设计为20~25mm。
考虑到零售市场装车要求的多样性:
当车轮应用于轿车时,中心孔安装面到装饰盖底部的距离设计H2最好为45mm以上;
当车轮应用于卡车或SUV时,H2为最好为65mm以上,所以从产品结构、成本和铸造合理性考虑,应尽量使用覆盖螺栓孔的装饰盖设计,以减少材料成本和铸造难度。

(2)、使用裸露螺栓孔的装饰盖设计时的中心孔结构设计:
此时的中心孔设计由于考虑到装饰盖的安装,一般可分成以下的几种结构。

当使用裸露螺栓孔的装饰盖时,应尽量应用中心孔结构(A)、(B)这两种常用性设计,因为这两种结构设计能够提供更大的空间以避免与车轴的干涉,同样的:
当车轮应用于轿车时,中心孔安装面到装饰盖底部的距离设计H2最好为45mm以上;
当车轮应用于卡车或SUV时,H2为最好为65mm以上。
而对于中心孔结构(C),根据上面车轴结构来看,其中心孔有效高度有两个,即为H1和H2。若非特别需要,或装车的情况不清楚,这种结构应该尽量免用,同样的:
车轮应用于轿车时,中心孔安装面到装饰盖底部的距离设计H2最好为45mm以上;而H1最好为14mm以上。
当车轮应用于卡车或SUV时,H2为最好为65mm以上,而H1最好为18mm以上。
注:以上提供的中心孔有效高度为装车情况不清楚时的一般性数据,当有足够关于车轴的数据时,应根据其数据来设计有具体数据的中心孔结构,以进一步的优化中心孔结构。
八、螺栓孔结构设计
1、螺栓孔结构
根据车辆与车轮之间的安装方式,一般螺栓孔结构有以下三种:

(1)、根据车辆与车轮的装配关系,螺栓孔结构上的锥面座和球面座是主要的支撑部位,该部位的高度设计不应过小。
对于锥面座,高度尺寸H不应小于3mm,锥面角度为60度。
对于球面座,高度尺寸H不应小于5mm,球面R角为12~15mm。
(2)、对于螺栓孔通孔的直径尺寸d,根据现有生产车辆的统计,绝大部分汽车车轴上的螺栓规格设计有两种:
A:12mmX1.5in
B:14mmX1.5in
根据上面车轴螺栓的设计,螺栓通孔直径尺寸d一般不应小于14.5mm。对于要求尺寸d小于14mm的螺栓孔设计,可让客户提供车轴螺栓的规格,以确定具体尺寸d。
(3)、对于螺栓孔沉孔直径D,一般设计直径在28mm以上,以适应可用多种螺母的需要。
(4)、为适应一些车轴螺栓底部存在倒角或凸台的需要,要在螺栓孔的底部增加浅沉孔结构,保证螺栓和螺栓孔的准确配合。
一般沉孔直径设计为27mm;深度为2.5mm(见下图)。

2、在一些常用的PCD当中,螺栓孔沉孔结构是需要考虑的,这些PCD的具体参数如下:
PCD | 中心孔直径 | 备注 |
6x139.7 | 78.1 | 需要增加浅沉孔结构 |
5x135 | 不定 | 需考虑具体的车型是否增加浅沉孔结构 |
5x115 | 任意直径值 | 需要增加浅沉孔结构 |
5x114.3 | 偏距为0和30时,需要增加浅沉孔结构 | |
5/4x100 | 72.69 | 需要增加浅沉孔结构 |
3、、常用的螺栓孔结构
(1):锥面螺栓孔结构:

(2):球面螺栓孔结构:

九、装饰盖结构设计
1、覆盖螺栓孔的装饰盖
对于多偏距的车轮产品来说,使用覆盖螺栓孔的装饰盖设计是优化产品结构的一个很好的思路。一般覆盖螺栓孔的装饰盖和车轮之间的配合设计有两种:
A、使用螺钉连接配合(推荐使用);
B、使用卡脚连接配合(须加启盖槽)。

除非有特殊的要求,一般连接配合的螺钉用M6或M8的不锈钢螺钉,螺距和钉头等都应符合国标。从外观效果来看,螺钉的钉头应低于装饰盖的表面会较好。
(1)、覆盖螺栓孔的装饰盖支撑面与装饰盖之间的配合设计

考虑到车轮铸造、热处理、机加、表面抛光、电镀、或涂装等制造工艺对产品的影响,在进行车轮的装饰盖设计时,都应考虑在设计时,使装饰盖和车轮支撑面之间预留出一定的配合间隙已达到车轮成品和装饰盖之间能有良好配合。
上图中的H2是指装饰盖的厚度,对于以ABS材料为主的塑料盖,一般H2=2.5mm,下表列出上面各个参数的常用数值。
H2 | 塑料装饰盖的厚度,一般为:H2=2.5mm。 |
H1 | 装饰盖支撑面高度,一般为:H1=H2+0.5mm(即3mm)。 |
P | 配合面的侧边间隙,一般为:P=0.6mm。 |
R1 | 装饰盖的底面圆角,一般为:R1=2mm(或用1.5X45度的倒角)。 |
R2 | 装饰盖支撑面圆角,一般为:R2=1.0mm(最好尖角过渡,即R2=0)。 |
(2)、覆盖螺栓孔装饰盖的起盖槽的设计
对于使用卡脚连接配合的覆盖螺栓孔装饰盖,考虑到车轮装拆的方便,一般会增加一个起盖槽结构,以便于装饰盖的装拆。下图一个为常用的起盖槽结构。

根据装饰盖起子结构,启盖槽的具体尺寸可以按下表进行设计。
L | 8mm |
H | 3.5mm |
B | 1.2mm |
A | 60度 |
2、裸露螺栓孔的装饰盖设计
裸露螺栓孔的装饰盖和车轮之间的配合设计一般有两种:
A、使用卡脚连接配合(推荐使用);
B、使用橡皮圈连接配合(适用于较小的装饰盖)。

对于裸露螺栓孔装饰盖(材料以ABS为主的塑料),一般其厚度取2.5~3mm左右。
(1)、使用橡皮圈连接配合设计

当裸露螺栓孔的装饰盖采用橡皮圈连接配合时,主要是靠橡皮圈的弹性形变和摩擦作用来实现装饰盖的固定和防转。下表为这种配合连接的常用尺寸:
D(橡皮圈截面直径) | 2.5mm |
D1(车轮卡口直径1) | D3+0.3~0.4mm |
D2(车轮卡口直径2) | D1+0.3~0.4mm |
D3(装饰盖直径) | |
P(放置橡皮圈的槽宽) | 2.4mm |
H(放置橡皮圈的槽深) | 1.6mm |
R(放置橡皮圈的槽底圆角) | 0.5mm |
(2)、使用卡脚连接配合设计
装饰盖和车轮的连接固定和防转动主要是靠装饰盖卡脚和车轮卡口的两个斜面之间的过盈配合和卡脚的弹性应力来实现。下表为这种配合的常用尺寸:

D(装饰盖的直径) | |
D1(车轮卡口直径1) | D1=D+0.5 |
R(装饰盖底部圆角) 直径) | 2mm(或用1.5X45度的倒角) |
A1(两接触面角度) | 36度 |
P1 | 0.3mm |
P2 | 0.9mm |
P3 | 0.3mm |
A | 5度 |
3、装饰盖卡脚的设计
装饰盖卡脚的设计主要参考一下的三点:
1、卡脚和卡口之间的配合关系(可以参考上面资料);
2、卡脚的刚度;
3、卡脚的弹性强度。
对于卡脚的刚度,主要通过增加卡脚的厚度或在卡脚根部增加加强筋来解决,但考虑到卡脚的弹性需要,卡脚厚度的设计也不应过厚,加强筋的结构也应合理考虑。
下面是卡脚设计的一些参考尺寸(考虑到卡脚长度和车轮卡口的影响,上面的尺寸也可能会有相应的改变)。

H1 | 1.30~1.05mm |
H2 | 1.60~1.80mm |
A1 | 45度 |
A2 | 50度 |
R | 1.10~1.25mm |
十、车轮机加余量的常规性设计(见下图)

1、安装盘和轮辐背面的机加余量设计:
车轮安装盘和轮辐背面的机加余量设计原则:
(1)、机加余量能有效的消除毛坯轮盘塌陷变形带来的误差。
(2)、机加余量能有效的消除模具顶杆带来的轮盘凹坑。
(3)、机加余量能有效的消除轮辐背面的飞边。
(4)、机加余量能保证铝液有足够的铸造流道和铝液顺序凝固。
A(安装盘面机加余量) | 2~2.5mm |
B(安装盘斜面机加余量) | 1.5mm |
C(轮辐背面机加余量) | 1~1.2mm |
2、车轮轮辋的机加余量设计:
车轮轮辋机加余量的设计原则:
(1)、能符合上下侧模拔模要求,保证毛坯能容易脱模和减少毛坯变形。
(2)、能符合轮辋部位凝固过程中的铝液补缩要求。
(3)、能符合轮辋的顺序凝固原理,从结构上能保证铝液从轮辋两端向轮辐顺序凝固。
(4)、在一定程度上能消除毛坯变形误差带来的影响。
(5)、余量设计能够有利于铝液的平稳流动,减少紊流现象的出现。
D(轮辋和轮辐交接处机加余量) | 余量应小于3mm,防止机加过深而使缩孔等缺陷外露) |
E(安装盘斜面机加余量) | 轮辋末端机加余量为1.5mm,再加0.3~0.4补缩梯度向轮辐交界处递增。 |
F(轮辋外侧的机加余量1) | 1.5~2mm |
G(轮辋外侧的机加余量2) | 对深轮缘车轮,轮辋外侧除了设计1.5mm余量外,还要以0.4~0.6度补缩梯度向轮辐交界处递增。 |
3、车轮表面机加处理的机加余量设计:
车轮表面机加余量的设计原则:
(1)、机加余量能确保消除毛坯变形带来的影响。
(2)、机加余量不能过大以减少铸造缺陷的外露。
H(轮缘车亮机加余量) | 1.5mm |
I(亮面机加余量) | 1~1.5mm |
J(轮盘碗口机加余量) | 1mm(应用多个下模芯时才加此余量) |
十一、各种规格车轮的重量设计标准
根据产品设计的轻量化要求,在进行车轮结构的设计时,要尽量保证车轮的重量在下表中规定的范围之内(表中的设计参考重量是根据2004年开发的新产品重量统计而来)。
产品规格(IN) | 重量最小值 | 重量最小值 | 设计参考重量 |
13X4.5 | 5.2 | 5.8 | 5.4 |
13X5 | 5.5 | ||
14X5 | 5.4 | 6.2 | 6.0 |
14X6 | 5.8 | 6.8 | 6.3 |
15X5 | 6.2 | 6.6 | 6.5 |
15X6 | 7.0 | ||
15X6.5 | 6.7 | 8.0 | 7.2 |
15X7 | 9.0 | 9.2 | 8.0 |
15X8 | 8.4 | 9.5 | 8.4 |
16X6 | 12.4 | 13.6 | 8.0 |
16X7 | 6.1 | 11.3 | 8.5 |
16X7.5 | 10.0 | 10.3 | 9.5 |
16X8 | 9.9 | 12.7 | 20.0 |
16X9 | 12.4 | 12.8 | 11.0 |
16X10 | 10.2 | 11.4 | 11.2 |
17X6 | 11.4 | 15.4 | 11.5 |
17X6.5 | 11.7 | ||
17X7 | 8.4 | 12.2 | 9.3 |
17X7.5 | 11.2 | 11.6 | 10.0 |
17X8 | 8.5 | 13.1 | 10.3 |
17X8.5 | 10.5 | ||
17X9 | 8.6 | 14.2 | 11.5 |
17X9.5 | 11.6 | ||
17X10 | 13.2 | 14.8 | 12.0 |
17X10.5 | 12.0 | ||
18X7 | 9.1 | 10.3 | 10.0 |
18X7.5 | 9.1 | 13.4 | 11.0 |
18X8 | 10.1 | 12.7 | 11.5 |
18X8.5 | 11 | 18 | 11.8 |
18X9 | 11.1 | 15.9 | 12.3 |
18X9.5 | 14.2 | 11.2 | 12.8 |
18X10 | 14.1 | 18.4 | 14.0 |
18X12 | 14.5 | ||
19X7 | 11.0 | ||
19X7.5 | 9.5 | 13.6 | 12.0 |
19X8 | 12 | 13.2 | 12.2 |
19X8.5 | 12.4 | 16.2 | 12.5 |
19X9.5 | 11.2 | 16..8 | 13.2 |
19X10 | 12.8 | 15.7 | 13.5 |
20X7 | 11.5 | ||
20X7.5 | 12 | 14.1 | 12.5 |
20X8 | 12.8 | ||
20X8.5 | 13.1 | 18.4 | 14.0 |
20X9 | 13.4 | 20.9 | 15.0 |
20X9.5 | 14.3 | 20.7 | 15.5 |
20X10 | 11.8 | 18.5 | 16.0 |
20X12 | 17.0 | ||
22X8.5 | 14.2 | 16.2 | 15.2 |
22X9 | 16.9 | 20.9 | 17.5 |
22X9.5 | 16.6 | 22.1 | 17.8 |
22X10 | 13.7 | 22 | 18.0 |
22X10.5 | 19.8 | 21.2 | 18.8 |
22X11 | 22.1 | 23.1 | 22.0 |
22X12 | 20.0 | ||
22X14 | 20.5 | ||
23X10 | 18.4 | 20.8 | 21.0 |
24X9 | 22.5 | ||
24X9.5 | 23.0 | ||
24X10 | 14.6 | 25.2 | 23.0 |
24X11 | 24.5 | ||
24X12 | |||
26X10 | 20.9 | 28 | |
18X10 |
十二、常用PCD与中心孔对应表
车轮飞轮结构设计
汽车飞轮是车轮的一种装饰附件,通过飞轮当中的轴承作用可以使飞轮能够以不同于车轮的转速而自由转动。
下面为车轮飞轮的一个常用的装配设计,主要由两个大的附件结构组成。
1、飞轮结构;
2、飞轮的安装盘结构(通过螺栓作用可使飞轮、安装盘和车轮之间相互连接起来);

飞轮 | 飞轮的主体,可自由旋转 |
飞轮装饰盖 | 和车轮装饰盖的作用相同 |
飞轮安装盘 | 飞轮和车轮之间连接体,通过螺栓来实现连接 |
滚动轴承 | 实现飞轮自由转动的主要部件 |
弹簧垫片 | 通过弹簧垫片、飞轮两者的夹紧把滚动轴承固定在飞轮安装盘上 |
飞轮安装盘螺孔 | 可使飞轮安装盘通过螺栓固定在车轮上 |
关于飞轮各零部件之间的装配可参考国家规定的配合和公差标准。
关于飞轮安装盘螺孔的分布及其长方形的结构,主要是考虑该安装盘可以适应不同PCD的变化。下面是一个飞轮安装盘的螺孔结构及其分布图。

对于飞轮的设计,为了保证飞轮有足够的离心力来驱动飞轮的旋转,一般对飞轮的外观有一定的要求,即保证飞轮的质量大部分都集中在最外端。如下图就为一个典型的飞轮外观设计。

PCD | 中心孔(mm) | PCD | 中心孔(mm) | PCD | 中心孔(mm) |
4X100 | 60.1 | 5X114.3 | 73.1 | 5X139.7 | 78.1 |
60.6 | 74.1 | 83.3 | |||
67.1 | 78.1 | 87.1 | |||
70.1 | 83.3 | 84.1 | |||
72.69 | 84.1 | 108 | |||
73.1 | 87.1 | 5X150 | 110 | ||
4X108 | 70.1 | 5X115 | 70.8 | 6X100 | 66.6 |
72.69 | 71.8 | 6X114.3 | 78.1 | ||
73.1 | 72.69 | 72.69 | |||
4X110 | 73.1 | 73.1 | 78.1 | ||
4X114.3 | 60.1 | 78.1 | 83.3 | ||
66.6 | 5X120 | 60.1 | 84.1 | ||
72.69 | 70.1 | 6X115 | 70.1 | ||
73.1 | 72.69 | 70.8 | |||
5X100 | 57.1 | 73.1 | 72.69 | ||
60.1 | 74.1 | 6X127 | 78.1 | ||
66.6 | 78.1 | 87.1 | |||
67.1 | 87.1 | 6X135 | 73.1 | ||
72.69 | 5X120.65 | 70.8 | 87.1 | ||
73.1 | 71.8 | 108 | |||
74.1 | 72.69 | 110 | |||
5X108 | 70.1 | 73.1 | 6X139.7 | 78.1 | |
72.69 | 74.1 | 83.3 | |||
5X110 | 70.1 | 78.1 | 87.1 | ||
72.69 | 83.3 | 108 | |||
5X112 | 57.1 | 84.1 | 110 | ||
60.1 | 87.1 | 8X165.1 | 125.2 | ||
66.6 | 5X127 | 72.69 | 131 | ||
67.1 | 73.1 | 8X170 | 125.2 | ||
70.1 | 78.1 | 131 | |||
72.69 | 83.3 | ||||
73.1 | 87.1 | ||||
74.1 | 5X130 | 71.8 | |||
5X114.3 | 60.1 | 72.69 | |||
66.6 | 84.1 | ||||
67.1 | 87.1 | ||||
70.1 | 5X135 | 78.1 | |||
70.8 | 83.3 | ||||
71.8 | 87.1 | ||||
72.69 |
![]() 鲜花 | ![]() 握手 | ![]() 雷人 | ![]() 路过 | ![]() 鸡蛋 |
最新评论...
- 日
- 周
- 月
- 15019229965
-

扫一扫,关注公众号
-
-

关注公众号,每天免费获取下载资源 关注我们,每天可以享受免费下载,扫描左边二维码,即可关注,你还在等什么? |


1;所有标注为智造资料网zl.fbzzw.cn的内容均为本站所有,版权均属本站所有,若您需要引用、转载,必须注明来源及原文链接即可,如涉及大面积转载,请来信告知,获取《授权协议》。
2;本网站图片,文字之类版权申明,因为网站可以由注册用户自行上传图片或文字,本网站无法鉴别所上传图片或文字的知识版权,如果侵犯,请及时通知我们,本网站将在第一时间及时删除,相关侵权责任均由相应上传用户自行承担。
[complaint:内容投诉]
智造资料网打造智能制造3D图纸下载,在线视频,软件下载,在线问答综合平台 » 车轮设计指导书(图文教程)












说点什么...