一、点、线、面作图题
(本大题共24小题,其中第1小题10分、第24题10分,共20分)
1.过点M作正平线MN,使与两直线AB、CD相交

2.用换面法求点M到直线AB的距离,并作出该距离的V、H两面投影

二、截交线作图题(10分)
3.画出圆柱被平面截切后的水平投影

三、相贯线作图题(10分)
4.根据立体的俯、左视图,补全主视图中相贯线的投影


四、组合体读图作图题(12分)
5.根据组合体的主、俯视图,画出其左视图(虚线不能省略)

五、组合体尺寸标注题(10分)
6.在给定的组合体主、俯视图中标注尺寸(尺寸数字按l∶l量取并取整)

六、表达方法作图题(12分)
7.在指定位置把主视图改画成半剖视图,并画出全剖视的左视图



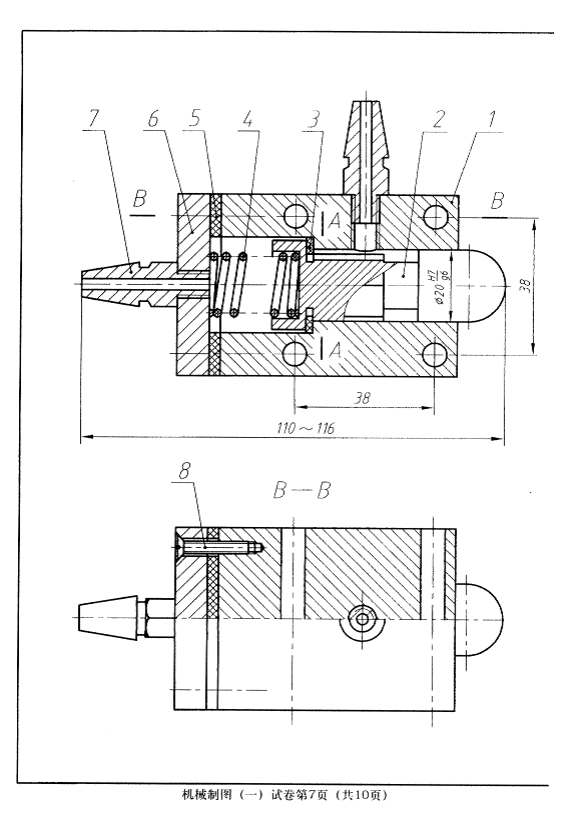
七、读装配图(见本卷7、8页)并拆画零件图
(本大题共3小题,其中第8小题10分,第9小题3分,第10小题3分,共16分。)
要求:
8.在本页指定位置按原图大小和指定的表达方法拆画出壳体(序号1)的零件视图,其中,主视图全剖,俯视图半剖,左视图为视图并按一半画出
9.把装配图上与该零件有关的尺寸抄注到零俯视图中去
10.在零件视图中标注指定表面的表面粗糙度代号:
20H7内孔表面的Ra值为1.6.阀体的左端面的Ra值为3.2,右端面的Ra值为6.3

八、标准件、常用件作图题(10分)
11.分析螺钉连接装配图中的错误,并将正确的画在右边的指定应置

免责声明:
1;所有标注为智造资料网zl.fbzzw.cn的内容均为本站所有,版权均属本站所有,若您需要引用、转载,必须注明来源及原文链接即可,如涉及大面积转载,请来信告知,获取《授权协议》。
2;本网站图片,文字之类版权申明,因为网站可以由注册用户自行上传图片或文字,本网站无法鉴别所上传图片或文字的知识版权,如果侵犯,请及时通知我们,本网站将在第一时间及时删除,相关侵权责任均由相应上传用户自行承担。
[complaint:内容投诉]
智造资料网打造智能制造3D图纸下载,在线视频,软件下载,在线问答综合平台 » 《机械制图》全国2011年7月高等教育自学考试(图文教程)
1;所有标注为智造资料网zl.fbzzw.cn的内容均为本站所有,版权均属本站所有,若您需要引用、转载,必须注明来源及原文链接即可,如涉及大面积转载,请来信告知,获取《授权协议》。
2;本网站图片,文字之类版权申明,因为网站可以由注册用户自行上传图片或文字,本网站无法鉴别所上传图片或文字的知识版权,如果侵犯,请及时通知我们,本网站将在第一时间及时删除,相关侵权责任均由相应上传用户自行承担。
[complaint:内容投诉]
智造资料网打造智能制造3D图纸下载,在线视频,软件下载,在线问答综合平台 » 《机械制图》全国2011年7月高等教育自学考试(图文教程)

