应用螺旋测微原理制成的量具,称为螺旋测微量具。它们的测量精度比游标卡尺高,并且测量比较灵活,因此,当加工精度要求较高时多被应用。常用的螺旋读数量具有百分尺和千分尺。百分尺的读数值为0.01mm,千分尺的读数值为0.001mm。工厂习惯上把百分尺和千分尺统称为百分尺或分厘卡。目前车间里大量用的是读数值为0.01mm的百分尺,现介绍这种百分尺为主,并适当介绍千分尺的使用知识
百分尺的种类很多,机械加工车间常用的有:外径百分尺、内径百分尺、深度百分尺以及螺纹百分尺和公法线百分尺等,并分别测量或检验零件的外径、内径、深度、厚度以及螺纹的中径和齿轮的公法线长度等。
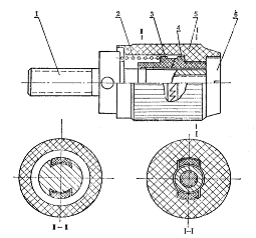
一 外径百分尺的结构
各种百分尺的结构大同小异,常用外径百分尺是用以测量或检验零件的外径、凸肩厚度以及板厚或壁厚等 (测量孔壁厚度的百分尺,其量面呈球弧形 )。百分尺由尺架、测微头、测力装置和制动器等组成。图3―1是测量范围为 0~25mm的外径百分尺。 尺架1的一端装着固定测砧2,另一端装着测微头。固定测砧和测微螺杆的测量面上都镶有硬质合金,以提高测量面的使用寿命。尺架的两侧面覆盖着绝热板12, 使用百分尺时,手拿在绝热板上,防止人体的热量影响百分尺的测量精度。

图 3-1 0~25mm外径百分尺
1-尺架;2-固定测砧;3-测微螺杆;4-螺纹轴套;5-固定刻度套筒;6-微分筒;
7-调节螺母;8-接头;9-垫片;10-测力装置;11-锁紧螺钉;12-绝热板。
1 百分尺的测微头
图3―1中的3~9是百分尺的测微头部分。带有刻度的固定刻度套筒5用螺钉固定在螺纹轴套4上,而螺纹轴套又与尺架紧配结合成一体。在固定套筒5的外面有一带刻度的活动微分筒6,它用锥孔通过接头8的外圆锥面再与测微螺杆3相连。测微螺杆3的一端是测量杆,并与螺纹轴套上的内孔定心间隙配合;中间是精度很高的外螺纹,与螺纹轴套4上的内螺纹精密配合,可使测微螺杆自如旋转而其间隙极小;测微螺杆另一端的外圆锥与内圆锥接头8的内圆锥相配,并通过顶端的内螺纹与测力装置10连接。当测力装置的外螺纹旋紧在测微螺杆的内螺纹上时,测力装置就通过垫片9紧压接头8,而接头8上开有轴向槽,有一定的胀缩弹性,能沿着测微螺杆3上的外圆锥胀大,从而使微分筒6与测微螺杆和测力装置结合成一体。当我们用手旋转测力装置10时,就带动测微螺杆3和微分筒6一起旋转,并沿着精密螺纹的螺旋线方向运动,使百分尺两个测量面之间的距离发生变化。
2 百分尺的测力装置
百分尺测力装置的结构见图3-2,主要依靠一对棘轮3和4的作用。棘轮4与转帽5连结成一体,而棘轮3可压缩弹簧2在轮轴1的轴线方向移动,但不能转动。弹簧2的弹力是控制测量压力的,螺钉6使弹簧压缩到百分尺所规定的测量压力。当我们手握转帽5顺时针旋转测力装置时,若测量压力小于弹簧2的弹力,转帽的运动就通过棘轮传给轮轴1(带测微螺杆旋转),使百分尺两测量面之间的距离继续缩短,即继续卡紧零件;当测量压力达到或略微超过弹簧的弹力时,棘轮3与4在其啮合斜面的作用下,压缩弹簧2,使棘轮4沿
着棘轮3的啮合斜面滑动,转帽的转动就不能带动测微螺杆旋转,同时发出嘎嘎的 棘轮跳动声,表示巳达到了额定测量压力,从而达到控制测量压力的目的。

图3-2 百分尺的测力装置
当转帽逆时针旋转时,棘轮4是用垂直面带动棘轮3,不会产生压缩弹簧的压力,始终能带动测微螺杆退出被测零件。
3 百分尺的制动器
百分尺的制动器,就是测微螺杆的锁紧装置,其结构如图3-3所示。制动轴4的圆周上,有一个开着深浅不均的偏心缺口,对着测微螺杆2。当制动轴以缺口的较深部分对着测量杆时,测量杆2就能在轴套3内自由活动,当制动轴转过一个角度,以缺口的较浅部分对着测量杆时,测量杆就被制动轴压紧在轴套内不能运动,达到制动的目的。

图3-3 百分尺的制动器
4 百分尺的测量范围
百分尺测微螺杆的移动量为25mm,所以百分尺的测量范围一般为25mm。为了使百分尺能测量更大范围的长度尺寸,以满足工业生产的需要,百分尺的尺架做成各种尺寸,形成不同测量范围的百分尺。目前,国产百分尺测量范围的尺寸分段为:
0~25;25~50;50~75;75~100;100~125;125~150;150~175;175~200;200~225;225~250;250~275;275~300;300~325;325~350;350~375;375~400;400~425;425~450;450~475;475~500;500~600;600~700;700~800;800~900;900~1000。
测量上限大于300mm的百分尺,也可把固定测砧做成可调式的或可换测砧,从而使此百分尺的测量范围为100mm。
测量上限大于1000mm的百分尺,也可将测量范围制成为500毫米,目前国产最大的百分尺为2500~3000mm的百分尺。
二 百分尺的工作原理和读数方法
1 百分尺的工作原理
如外径百分尺的工作原理就是应用螺旋读数机构,它包括一对精密的螺纹——测微螺杆与螺纹轴套,如图3-1中的3和4,和一对读数套筒——固定套筒与微分筒,如图3-1中的5和6。
用百分尺测量零件的尺寸,就是把被测零件置于百分尺的两个测量面之间。所以两测砧面之间的距离,就是零件的测量尺寸。当测微螺杆在螺纹轴套中旋转时,由于螺旋线的作用,测量螺杆就有轴向移动,使两测砧面之间的距离发生变化。如测微螺杆按顺时针的方向旋转一周,两测砧面之间的距离就缩小一个螺距。同理,若按逆时针方向旋转一周,则两砧面的距离就增大一个螺距。常用百分尺测微螺杆的螺距为0.5mm。因此,当测微螺杆顺时针旋转一周时,两测砧面之间的距离就缩小0.5mm。当测微螺杆顺时针旋转不到一周时,缩小的距离就小于一个螺距,它的具体数值,可从与测微螺杆结成一体的微分筒的圆周刻度上读出。微分筒的圆周上刻有50个等分线,当微分筒转一周时,测微螺杆就推进或后退0.5mm,微分筒转过它本身圆周刻度的一小格时,两测砧面之间转动的距离为:
0.5&pide;50=0.01(mm)。
由此可知:百分尺上的螺旋读数机构,可以正确的读出0.01mm,也就是百分尺的读数值为0.01mm。
2 百分尺的读数方法
在百分尺的固定套筒上刻有轴向中线,作为微分筒读数的基准线。另外,为了计算测微螺杆旋转的整数转,在固定套筒中线的两侧,刻有两排刻线,刻线间距均为1mm,上下两排相互错开0.5mm。
百分尺的具体读数方法可分为三步:
(1)读出固定套筒上露出的刻线尺寸,一定要注意不能遗漏应读出的0.5mm的刻线值。
(2)读出微分筒上的尺寸,要看清微分筒圆周上哪一格与固定套筒的中线基准对齐,将格数乘0.01mm即得微分筒上的尺寸。
(3)将上面两个数相加,即为百分尺上测得尺寸。
如图3-4(a),在固定套筒上读出的尺寸为8mm,微分筒上读出的尺寸为27(格)×0.01mm =0.27mm,上两数相加即得被测零件的尺寸为8.27mm;图3-4(b),在固定套筒上读出的尺寸为8.5mm,在微分筒上读出的尺寸为27(格)×0.01mm =0.27mm,上两数相加即得被测零件的尺寸为8.77mm。

图3-4 百分尺的读数
三 百分尺的精度及其调整
百分尺是一种应用很广的精密量具,按它的制造精度,可分0级和1级的两种,0级精度较高,1级次之。百分尺的制造精度,主要由它的示值误差和测砧面的平面平行度公差的大小来决定,小尺寸百分尺的精度要求,见表3-1。从百分尺的精度要求可知,用百分尺测量IT6~IT10级精度的零件尺寸较为合适。
表3-1 百分尺的精度要求 mm
测量上限 | 示值误差 | 两测量面平行度 | ||
0级 | 1级 | 0级 | 1级 | |
15;25 | ±0.002 | ±0.004 | 0.001 | 0.002 |
50 | ±0.002 | ±0.004 | 0.0012 | 0.0025 |
75;100 | ±0.002 | ±0.004 | 0.0015 | 0.003 |
百分尺在使用过程中,由于磨损,特别是使用不妥当时,会使百分尺的示值误差超差,所以应定期进行检查,进行必要的拆洗或调整,以便保持百分尺的测量精度。
1 校正百分尺的零位 百分尺如果使用不妥,零位就要走动,使测量结果不正确,容易造成产品质量事故。所以,在使用百分尺的过程中,应当校对百分尺的零位。所谓“校对百分尺的零位”,就是把百分尺的两个测砧面揩干净,转动测微螺杆使它们贴合在一起(这是指0~25mm的百分尺而言,若测量范围大于0~25mm时,应该在两测砧面间放上校对样棒),检查微分筒圆周上的“0”刻线,是否对准固定套筒的中线,微分筒的端面是否正好使固定套筒上的“0”刻线露出来。如果两者位置都是正确的,就认为百分尺的零位是对的,否则就要进行校正,使之对准零位。
如果零位是由于微分筒的轴向位置不对,如微分筒的端部盖住固定套筒上的“0”刻线,或“0”刻线露出太多,0.5的刻线搞错,必须进行校正。此时,可用制动器把测微螺杆锁住,再用百分尺的专用扳手,插入测力装置轮轴的小孔内,把测力装置松开(逆时针旋转),微分筒就能进行调整,即轴向移动一点。使固定套筒上的“0”线正好露出来,同时使微分筒的零线对准固定套筒的中线,然后把测力装置旋紧。
如果零位是由于微分筒的零线没有对准固定套筒的中线,也必须进行校正。此时,可用百分尺的专用扳手,插入固定套筒的小孔内,把固定套筒转过一点,使之对准零线。
但当微分筒的零线相差较大时,不应当采用此法调整,而应该采用松开测力装置转动微分筒的方法来校正。
2 调整百分尺的间隙 百分尺在使用过程中,由于磨损等原因,会使精密螺纹的配合间隙增大,从而使示值误差超差,必须及时进行调整,以便保持百分尺的精度。
要调整精密螺纹的配合间隙,应先用制动器把测微螺杆锁住,再用专用扳手把测力装置松开,拉出微分筒后再进行调整。由图3-1可以看出,在螺纹轴套上,接近精密螺纹一段的壁厚比较薄,且连同螺纹部分一起开有轴向直槽,使螺纹部分具有一定的胀缩弹性。同时,螺纹轴套的圆锥外螺纹上,旋着调节螺母7。当调节螺母往里旋入时,因螺母直径保持不变,就迫使外圆锥螺纹的直径缩小,于是精密螺纹的配合间隙就减小了。然后,松开制动器进行试转,看螺纹间隙是否合适。间隙过小会使测微螺杆活动不灵活,可把调节螺母松出一点,间隙过大则使测微螺杆有松动,可把调节螺母再旋进一点。直至间隙凋整好后,再把微分简装上,对准零位后把测力装置旋紧。
经过上述调整的百分尺,除必须校对零位外,还应当用表4-1所列的第7套检定量块,检验百分尺的五个尺寸的测量精度,确定百分尺的精度等级后,才能移交使用。例如,用5.12;10.24;15.36;21.5;25等五个块规尺寸检定0~25mm的百分尺,它的示值误差应符合表3-1的要求,否则应继续修理。
该文章所属专题:量具使用
四 百分尺的使用方法
百分尺使用得是否正确,对保持精密量具的精度和保证产品质量的影响很大,指导人员和实习的学生必须重视量具的正确使用,使测量技术精益求精,务使获得正确的测量结果,确保产品质量。
使用百分尺测量零件尺寸时,必须注意下列几点,
1 使用前,应把百分尺的两个测砧面揩干净,转动测力装置,使两测砧面接触(若测量上限大于25mm时,在两测砧面之间放入校对量杆或相应尺寸的量块),接触面上应没有间隙和漏光现象,同时微分筒和固定套简要对准零位。
2 转动测力装置时,微分筒应能自由灵活地沿着固定套筒活动,没有任何轧卡和不灵活的现象。如有活动不灵活的现象,应送计量站及时检修。
3 测量前,应把零件的被测量表面揩干净,以免有脏物存在时影响测量精度。绝对不允许用百分尺测量带有研磨剂的表面,以免损伤测量面的精度。用百分尺测量表面粗糙的零件亦是错误的,这样易使测砧面过早磨损。
4 用百分尺测量零件时,应当手握测力装置的转帽来转动测微螺杆,使测砧表面保持标准的测量压力,即听到嘎嘎的声音,表示压力合适,并可开始读数。要避免因测量压力不等而产生测量误差。
绝对不允许用力旋转微分筒来增加测量压力,使测微螺杆过分压紧零件表面,致使精密螺纹因受力过大而发生变形,损坏百分尺的精度。有时用力旋转微分筒后,虽因微分筒与测微螺杆间的连接不牢固,对精密螺纹的损坏不严重,但是微分筒打滑后,百分尺的零位走动了,就会造成质量事故。
5 使用百分尺测量零件时(图3-5),要使测微螺杆与零件被测量的尺寸方向一致。如测量外径时,测微螺杆要与零件的轴线垂直,不要歪斜。测量时,可在旋转测力装置的同时,轻轻地晃动尺架,使测砧面与零件表面接触良好。


图3-5 在车床上使用外径百分尺的方法
6 用百分尺测量零件时,最好在零件上进行读数,放松后取出百分尺,这样可减少测砧面的磨损。如果必须取下读数时,应用制动器锁紧测微螺杆后,再轻轻滑出零件,把百分尺当卡规使用是错误的,因这样做不但易使测量面过早磨损,甚至会使测微螺杆或尺架发生变形而失去精度。
7 在读取百分尺上的测量数值时,要特别留心不要读错0.5mm。
8 为了获得正确的测量结果,可在同一位置上再测量一次。尤其是测量圆柱形零件时,应在同一圆周的不同方向测量几次,检查零件外圆有没有圆度误差,再在全长的各个部位测量几次,检查零件外圆有没有圆柱度误差等。
9 对于超常温的工件,不要进行测量,以免产生读数误差。
10 用单手使用外径百分尺时,如图3-6(a)所示,可用大拇指和食指或中指捏住活动套筒,小指勾住尺架并压向手掌上,大拇指和食指转动测力装置就可测量。
用双手测量时,可按图3-6(b)所示的方法进行。
1;所有标注为智造资料网zl.fbzzw.cn的内容均为本站所有,版权均属本站所有,若您需要引用、转载,必须注明来源及原文链接即可,如涉及大面积转载,请来信告知,获取《授权协议》。
2;本网站图片,文字之类版权申明,因为网站可以由注册用户自行上传图片或文字,本网站无法鉴别所上传图片或文字的知识版权,如果侵犯,请及时通知我们,本网站将在第一时间及时删除,相关侵权责任均由相应上传用户自行承担。
[complaint:内容投诉]
智造资料网打造智能制造3D图纸下载,在线视频,软件下载,在线问答综合平台 » 量具使用-3.螺旋测微量具(图文教程)

