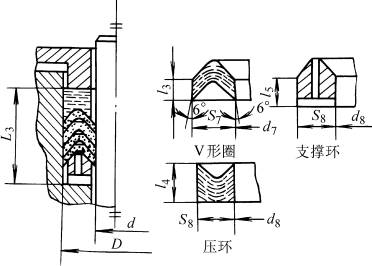
活塞杆密封腔体L3用V形夹织物橡胶组合密封圈的尺寸及公差 (摘自GB/T 10708.1-1989) (mm)
d | D | L3 | d7 | d8 | d7、d8 极限偏差 | S7 | S8 | S7、S8、 极限偏差 | l3 | l4 | l5 | l3、l4、l5 极限偏差 | V形圈 数量 |
6 | 14 | 14.5 | 5.5 | 6.3 | ±0.18 | 4.50 | 3.70 | ±0.15 | 2.5 | 6 | 3 | ±0.20 | 2 |
8 | 16 | 7.5 | 8.3 | ||||||||||
10 | 18 | 9.5 | 10.3 | ||||||||||
12 | 20 | 11.5 | 12.3 | ||||||||||
14 | 22 | 13.5 | 14.3 | ||||||||||
16 | 24 | 15.5 | 16.3 | ||||||||||
18 | 26 | 17.5 | 18.3 | ±0.22 | |||||||||
20 | 28 | 19.5 | 20.3 | ||||||||||
22 | 30 | 21.5 | 22.3 | ||||||||||
25 | 33 | 24.5 | 25.3 | ||||||||||
10 | 20 | 16 | 9.4 | 10.3 | 5.60 | 4.70 | 3 | 6.50 | |||||
12 | 22 | 11.4 | 12.3 | ||||||||||
14 | 24 | 13.4 | 14.3 | ||||||||||
16 | 26 | 15.4 | 16.3 | ||||||||||
18 | 28 | 17.4 | 18.3 | ||||||||||
20 | 30 | 19.4 | 20.3 | ||||||||||
22 | 32 | 21.4 | 22.3 | ||||||||||
25 | 35 | 24.4 | 25.3 | ||||||||||
28 | 38 | 27.4 | 28.3 | ||||||||||
32 | 42 | 31.4 | 32.3 | ||||||||||
36 | 46 | 35.4 | 36.3 | ||||||||||
40 | 55 | 39.4 | 40.3 | ||||||||||
45 | 55 | 44.4 | 45.3 | ||||||||||
50 | 60 | 49.4 | 50.3 | ||||||||||
28 | 43 | 25 | 27.3 | 28.5 | 8.20 | 7 | 4.50 | 8 | 3 | ||||
32 | 47 | 31.3 | 32.5 | ||||||||||
36 | 51 | 35.3 | 36.5 | ||||||||||
40 | 55 | 39.3 | 40.5 | ||||||||||
45 | 60 | 44.3 | 45.5 | ||||||||||
50 | 65 | 49.3 | 50.5 | ||||||||||
56 | 71 | 55.3 | 56.5 | ||||||||||
63 | 78 | 62.3 | 63.5 | ||||||||||
70 | 85 | 69.3 | 70.5 | ±0.30 | |||||||||
80 | 95 | 79.3 | 80.5 | ||||||||||
90 | 105 | 89.3 | 90.5 | ||||||||||
56 | 76 | 32 | 55.2 | 56.6 | ±0.22 | 10.8 | 9.4 | 6 | 10 | ||||
63 | 83 | 62.2 | 63.6 | ||||||||||
70 | 90 | 69.2 | 70.6 | ±0.30 | |||||||||
80 | 100 | 79.2 | 80.6 | ||||||||||
90 | 110 | 89.2 | 90.6 | ||||||||||
100 | 120 | 99.2 | 100.6 | ||||||||||
110 | 130 | 109.2 | 110.6 | ||||||||||
125 | 145 | 124.2 | 125.6 | ±0.35 | |||||||||
140 | 160 | 139.2 | 140.6 | ||||||||||
100 | 125 | 40 | 99 | 100.6 | 13.5 | 11.9 | 12 | ±0.25 | 4 | ||||
110 | 135 | 109 | 110.6 | ||||||||||
125 | 150 | 124 | 125.6 | ||||||||||
140 | 165 | 139 | 140.6 | ||||||||||
160 | 185 | 159 | 160.6 | ||||||||||
180 | 205 | 179 | 180.6 | ±0.45 | |||||||||
200 | 225 | 199 | 200.6 | ||||||||||
160 | 190 | 50 | 158.8 | 160.8 | ±0.35 | 16.2 | 14.2 | ±0.20 | 6.5 | 14 | 5 | ||
180 | 210 | 178.8 | 180.8 | ±0.45 | |||||||||
200 | 230 | 198.8 | 200.8 | ||||||||||
220 | 250 | 218.8 | 220.8 | ||||||||||
250 | 280 | 248.8 | 250.8 | ||||||||||
280 | 310 | 278.8 | 280.8 | ±0.60 | |||||||||
320 | 360 | 63 | 318.4 | 321 | 21.6 | 19 | ±0.20 | 7 | 15.5 | 4 | 6 | ||
360 | 400 | 358.4 | 361 |
1;所有标注为智造资料网zl.fbzzw.cn的内容均为本站所有,版权均属本站所有,若您需要引用、转载,必须注明来源及原文链接即可,如涉及大面积转载,请来信告知,获取《授权协议》。
2;本网站图片,文字之类版权申明,因为网站可以由注册用户自行上传图片或文字,本网站无法鉴别所上传图片或文字的知识版权,如果侵犯,请及时通知我们,本网站将在第一时间及时删除,相关侵权责任均由相应上传用户自行承担。
[complaint:内容投诉]
智造资料网打造智能制造3D图纸下载,在线视频,软件下载,在线问答综合平台 » 活塞杆密封腔体L3用V形夹织物橡胶组合密封圈的尺寸及公差(GB/T10708.1-1989)(图文教程 ...

