由於制品的特殊要求﹐其某部位的脫模方向與注射機開模方向不一致﹐需進行側面分型與抽芯方可順利頂出制品。
側面分型與抽芯機構有兩種:行位和斜頂。
1.1. 行位
1.1.1行位行程計算(以兩辨合模為例):
為保証制品順利脫模,行位移動的距離一定要充分,一般以制品可以脫模的最小距離加2~3mm為其最小行程:
AB = AC +(2~3)

1.1.2. 后模行位均采用壓塊+斜銷+彈弓的結構形式如图所示 (有時当行位寬度超過100,又不方便用此結構時,可考慮采用T塊結構形式),但當行位位於天地方向,受回針位置及模胚大小限制時,可不做壓塊,由模板原身出。
其壓塊采用公司自制標准件,規格参照附表3-1.2,并且壓塊均需加定位銷定位。
1.1.3.行位底面﹑頂面與前后模底﹑頂面的关系,見圖:
a .b≧15mm
a .b=0
1.1.4.不论行位側面是否有封膠﹐其兩側均要做斜度,一般值为单边3~5o,但當兩個運動方向垂直的行位貼合時,角度為.45 o。若产品四面均有行位互相贴合,设计时应考虑将其中一个行位伸出一耳朵,以保证准确定位。
1.1.5.行位高度與厚度的比值最大為1,否則,行位運動時會受翻轉力矩影响,造成運動失效。一般要求L≧1.5H。

1.1.6.行位斜銷角度一般為15 o ~25 o,最大不能超過25 o, 斜銷角度比行位小2o,一般盡量不采用細小的斜銷,以保証行位運動的順利。

1.1.7.斜銷孔比斜銷單邊大1/64",约0.4,當斜銷穿過行位時,需在模板上為其留出足夠 的讓位空間。
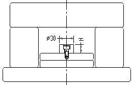
1.1.8.斜銷在行位中位置的確定﹕斜銷盡量置於行位的中間位置,具體尺寸要求如圖:

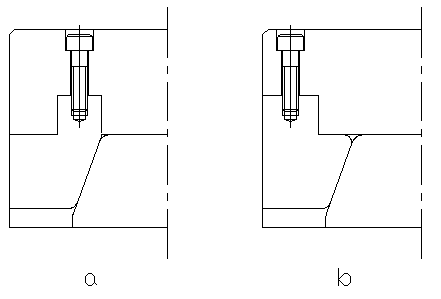
1.1.9. 鏟雞與行位的配合面要求超過行位高度的2/3,并且用於鏟雞的螺絲應盡量大,下圖為兩種不同結構的鏟雞,盡量避免采用圖b的結構。

1.1.10.行位彈弓長度的確定,應保証彈弓空間足夠,防止彈弓失效。
设定行位行程为M,弹弓总长为L,设弹簧压缩40%,行位完全退出后,弹弓仍预压10%,则有
(40%﹣10%)L=M
L=(10/3)M
弹弓空间为0.6L.
但当L过小时,为了防止弹弓失效,往往要加大弹弓长度。
1.1.11当行位完全包裹制品側面時,為防止行位運動時拉傷膠件,需在行位上設置側頂裝置,其結構形式如圖所示:設計中,應根據模具空間是否足夠來選擇適合的結構,建议采用图a结构。

1.1.12.為使行位運動順暢, 其周邊不能有阻碍運動的尖角等,一般其周邊應倒R3~R5的圓角

1.1.13. 當需在行位下安裝彈弓時,尺寸要求如圖,為防止螺絲被彈弓卡住,選用彈弓和螺絲時應參照表
弹弓 | 对应的螺丝 |
ø3/8” | M3/16” |
ø1/2” | M1/4” |
ø5/8” | M5/16” |
ø3/4” | M3/8” |
ø1” | M1/2” |
ø1-1/4” | M1/2” |
1.1.14.大的行位應單獨冷卻,并且行位或鏟雞上要鑲耐磨塊,此時行位與鏟雞避空0.5.如圖所示。

1.1.15.当需在前模行位上設置限位槽時,结构如圖示,h根據行位行程確定。(附限位块大小)限位块至少用M3/8"的螺丝紧固。
有時,當前模行位過小時,不采用T塊導向,而直接用限位塊導向和定位。
1.1.16.前模行位上﹐T塊與T槽單邊避空0.3~0.5,只有一面為配合面。如圖所示:

所開T槽大小與T塊均采用公司自制標准,見圖:(附T槽﹑T塊大小圖示)
1.1.17.前模行位彈弓長度計算。
设定行位行程M,弹弓总长L,压缩40%,行位完全退出后仍预压10%,行位角度α,行位总高H,则有
(40%-10%)Lsina=M
L=10M/3sina
同时应校核:0.3Lcosa<1/2H,否则应加大a角,但最大不得超出25°,有时为防止失效,往往要加大L尺寸。
1.1.18.前模行位均需做行位拉鉤,采用公司自制標准件,見附表3-1.18。
1.1.19前模行位改为T块做在行位上,T槽开在铲鸡上。

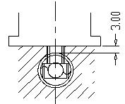
1.1.20.前模行位一般要求設置耐磨塊,如圖所示,此時,前模斜面配合面與行位避空0.5mm。
1.1.21.前模行位脱出前模不得超过行位总长1/2,如图所示。

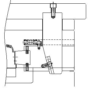
1.1.22.前模内抽行位
有时产品需设置前模内抽行位,如图所示。此时,为了避免A板避空过多的问题,常将T块做在行位上,而在铲鸡上开T槽
1.1.23.行位上開設“V”型油槽時,應斜向行位運動方向,”O”形油槽則應环环相扣,油槽深0.5~1.00mm,油槽邊不做通,以防漏油。
3.1.24.行位上有相互運動的零件,均需淬火處理。例如限位块、压条等。
1.2. 斜頂
當制品側壁內表面或制品頂端內表面出现倒扣時,采用斜頂往往是非常有效的方法.其工作原理為:在頂出制品的同時受斜面限制,同時作橫向移動,從而使制品脫離。
1.2.1.斜頂角度最大為7o (受本公司设备能力限制) ,一般為5 o,大小視其行程及頂出空間而定,有时要加高C板以保证顶出。
1.2.2.斜頂最小厚度為8.00,大多數情況下,可適当加大到10~15mm。同时,斜頂应加耐磨块以保证精确定位。

1.2.3.当产品圓弧處需設置斜頂﹐處理方法見圖:

1.2.4.斜頂采用T座與螺絲方式固定,其螺絲最小為M3/16".見圖:
1.2.5.当斜頂大小與頂出高度受周圍骨位﹑凸台等限制或者两斜顶相距太近時,解決方法有:設置限位頂出裝置和與設計部溝通更改产品。
1.2.6.限位頂出機構
限位頂出機構的基本形式見圖﹐一般采用兩個。H根據限位頂出高度設定。


1;所有标注为智造资料网zl.fbzzw.cn的内容均为本站所有,版权均属本站所有,若您需要引用、转载,必须注明来源及原文链接即可,如涉及大面积转载,请来信告知,获取《授权协议》。
2;本网站图片,文字之类版权申明,因为网站可以由注册用户自行上传图片或文字,本网站无法鉴别所上传图片或文字的知识版权,如果侵犯,请及时通知我们,本网站将在第一时间及时删除,相关侵权责任均由相应上传用户自行承担。
[complaint:内容投诉]
智造资料网打造智能制造3D图纸下载,在线视频,软件下载,在线问答综合平台 » 模具行位系統(图文教程)

